“ఈ గణిత సూత్రాలకు (మాక్స్వెల్ సమీకరణాలకు) ఒక స్వతంత్ర అస్తిత్వం, ఒక మేధస్సు ఉన్నాయి. అవి మనకంటే తెలివైనవి, వాటిని కనుగొన్న వారి కంటే కూడా వివేకవంతమైనవి. మనం వాటిలో ఉంచిన దానికన్నా మిన్నగా అవి మనకు తిరిగి ఇస్తాయి.”
— హెన్రిచ్ హెర్ట్జ్
1831లో ఫారడే ‘శక్తిరేఖలు’ (Lines of Force) గా ఊహించిన దానిని 1865 నాటికి మాక్స్వెల్ విద్యుదయస్కాంత క్షేత్రంగా గణిత పునాదులతో ప్రవేశపెట్టి, తన సమీకరణాల ద్వారా కాంతి వేగంతో పయనించే ‘విద్యుదయస్కాంత తరంగాలు’ ఉంటాయని సిద్ధాంతపరంగా నిరూపించాడు. 1879లో మాక్స్వెల్ అకాల మరణం తర్వాత, మాక్స్వెలియన్లు (హెవీసైడ్, లాడ్జ్, ఫిట్జ్గెరాల్డ్) ఆ సిద్ధాంతాన్ని మరింత విశ్లేషించి, దానిలోని లోతులను శాస్త్ర ప్రపంచానికి వివరించారు. కానీ, ఆ తరంగాలు నిజంగా ఉన్నాయా? వాటిని ఎలా సృష్టించగలము? తీగెలు లేకుండా ఒక చోటు నుండి మరోచోటుకు శక్తి ప్రయాణించగలదా? ఈ ప్రశ్నలకు రుజువుతో కూడిన సమాధానాలు దొరకలేదు.
19వ శతాబ్దపు ద్వితీయార్ధంలో మాక్స్వెల్ సిద్ధాంతానికి బ్రిటన్లో ఉన్నంత ఆదరణ జర్మనీలో లేదు. దీనికి ప్రధాన కారణం కేవలం దేశాల మధ్య ఉన్న పోటీ మాత్రమే కాదు, భౌతిక శాస్త్రం పట్ల వారికున్న భిన్నమైన తాత్విక దృక్పథాలు. జర్మన్ శాస్త్రవేత్తలు అప్పట్లో న్యూటన్ సిద్ధాంతం, తక్షణ దూర క్రియ (instantaneous action-at-a-distance), నిజమని నమ్మారు. మాక్స్వెల్ ప్రతిపాదించిన ‘క్షేత్ర భావన’ (Field Concept) వారికి అశాస్త్రీయమనిపించింది. జర్మనీలో మాక్స్వెల్ సిద్ధాంతాన్ని సీరియస్గా తీసుకున్న మొదటి వ్యక్తి హెర్మన్ వాన్ హెల్మ్హోల్ట్జ్. ఏది నిజమో తెలుసుకోమని తన శిష్యుడు హెన్రిచ్ హెర్ట్జ్ని ప్రోత్సహించాడు. హెర్ట్జ్ ప్రయోగాలతో మాక్స్వెల్ సిద్ధాంతం రుజువయింది; వైర్లెస్ (రేడియో, టివి, స్మార్ట్ ఫోన్) సమాచార యుగానికి నాంది పలికింది.
ఇంట్లోని మిక్సీ (Mixer), లేదా ఫ్రిజ్ వెనుక ఉండే స్టిక్కర్ మీద ‘50 Hz’ అని రాసి ఉంటుంది. అంటే, ఆ యంత్రం పని చేయడానికి వాడే విద్యుత్ ప్రవాహం సెకనుకు 50 సార్లు తన దిశను మార్చుకుంటుందని అర్థం. మనం వినే ఎఫ్.ఎమ్ (FM) రేడియో స్టేషన్ల నంబర్లు (93.5 MHz) పౌనఃపున్యాన్నే (frequency) సూచిస్తాయి. ‘MHz’ అంటే సెకనుకు మిలియన్ సార్లు ప్రయాణించే తరంగాలు. కంప్యూటర్ వేగాన్ని GHz (గిగా హెర్ట్జ్) లో కొలుస్తాము. సెకనుకు బిలియన్ లెక్కలు చేయగలదని అర్థం. ఇలా మన నిత్య జీవితంలో వాడే ప్రతి ఎలక్ట్రానిక్ పరికరంపై ‘హెర్ట్జ్’ పేరు ఒక కొలమానంగా చిరస్థాయిగా నిలిచిపోయింది.
ఆ గురు శిష్యుల కథే ఈ వ్యాసం.
హెర్ట్జ్ బాల్యం, యవ్వనం
హెన్రిచ్ రుడాల్ఫ్ హెర్ట్జ్ (Heinrich Rudolf Hertz, 1857 – 1894) 1857 ఫిబ్రవరి 22న జర్మనీలోని హ్యాంబర్గ్ నగరంలో పుట్టాడు. తల్లిదండ్రులకు కలిగిన అయిదుగురిలో అతను మొదటి సంతానం. అతని తాత సంపన్న యూదు వంశానికి చెందిన వాడు. కాని తండ్రి చిన్న వయసులోనే కుటుంబం అంతా లూథరన్ (క్రైస్తవ) మతంలోకి మారింది. తల్లి కూడా లూథరన్. హెర్ట్జ్ తండ్రి ఉన్నత విద్యావంతుడు, హ్యాంబర్గ్ సెనేటర్, అక్కడి న్యాయవ్యవస్థకు అధిపతి.
హెన్రిచ్ చదువులో విలక్షణమైన వాడని చిన్నప్పుడే పేరు తెచ్చుకున్నాడు. కేవలం ‘క్లాసికల్’ విద్యకో లేదా ‘టెక్నికల్’ విద్యకో పరిమితం కాకుండా, గ్రీక్, అరబిక్ వంటి భాషలను నేర్చుకుంటూనే ఇంజనీరింగ్ పట్ల మక్కువ పెంచుకున్నాడు. ఇంట్లోనే సొంతంగా ప్రయోగాలు చేసేవాడు. డ్రెస్డెన్, మ్యూనిక్ నగరాల్లో చదువు పూర్తయ్యాక, మధ్యలో ఒక ఏడాది సైనిక సేవ (Military Service) కూడా చేశాడు. అయితే, తన అంతిమ లక్ష్యం విజ్ఞాన శాస్త్రమేనని నిర్ణయించుకుని, 1879లో అప్పట్లో మేధావులకు నిలయమైన బెర్లిన్ విశ్వవిద్యాలయంలో చేరాడు. ఆ ఉద్దండులలో కెల్లా ఉన్నతుడు హెర్మన్ వాన్ హెల్మ్హోల్ట్జ్.
హెల్మ్హోల్ట్జ్
హెర్మన్ వాన్ హెల్మ్హోల్ట్జ్ (Hermann von Helmholtz, 1821 – 1894) 1857లో జర్మనీలోని పోట్స్డామ్లో పుట్టాడు. చిన్నతనంలో అతను తరచూ అనారోగ్యానికి గురయ్యేవాడు, అందుకే ఎక్కువ సమయం ఇంట్లోనే గడపాల్సి వచ్చేది. ఆ సమయంలో పాఠశాల ఉపాధ్యాయుడైన అతని తండ్రి, హెర్మన్కు భాషలు, తత్వశాస్త్రం, సంగీతం బోధించాడు.
బాల్యం నుంచే అతనిలో విపరీతమైన ఉత్సుకత ఉండేది. తోటి పిల్లలు బయట ఆడుకుంటుంటే, ఇతను మాత్రం ఇంట్లోని రేఖాగణిత బొమ్మలతో, పజిల్స్తో ఆడుకుంటూ ప్రకృతిలోని క్రమశిక్షణను అర్థం చేసుకోవడానికి ప్రయత్నించేవాడు. హెర్మన్కు భౌతికశాస్త్రం అంటే ప్రాణం. కానీ, కుటుంబ ఆర్థిక పరిస్థితుల వల్ల, ప్రభుత్వం ఉచితంగా చదువు చెప్పించే సైనిక వైద్య విద్యను ఎంచుకోవలసి వచ్చింది.
శక్తి నిత్యత్వ నియమం (Law of Conservation of Energy)
హెల్మ్హోల్ట్జ్ తన ఉద్యోగ ఆరంభంలో పోట్స్డామ్ సైనిక బారక్స్లోని ఒక చిన్న ప్రయోగశాలలో పని చేస్తున్నప్పుడు, అప్పటి సైన్స్ ప్రపంచాన్ని పీడిస్తున్న ఒక పెద్ద చిక్కుముడిని విడదీయాలని నిర్ణయించుకున్నాడు.
జి.ఇ. స్టాల్ (Georg Ernst Stahl, 1659 – 1734) వంటి శాస్త్రవేత్తలు అప్పట్లో ఒక వింత వాదన చేసేవారు. వారి ప్రకారం, మన శరీరంలోని అవయవాలు భౌతిక, రసాయన సూత్రాల ద్వారా పనిచేసినప్పటికీ, వాటిని నియంత్రించేది ఒక “అంతర్గత జీవశక్తి” (Vital Soul). మనిషి బ్రతికి ఉన్నంత కాలం ఈ ఆత్మ శరీరంలోని శక్తులను కట్టిపడేస్తుందని, మరణించాక ఆ శక్తులు విముక్తమై శరీరం కుళ్ళిపోయేలా చేస్తాయని వారు నమ్మేవారు.
ప్రకృతి నియమాలకు విరుద్ధంగా ఉండే ఈ వివరణపై హెల్మ్హోల్ట్జ్కు మొదటి నుంచీ నమ్మకం లేదు. కానీ దానిని ఎలా ఎదుర్కోవాలో తెలియక సతమతమవుతున్న సమయంలో, జస్టస్ వాన్ లీబిగ్ (Justus von Liebig, 1803 – 1873) అనే రసాయన శాస్త్రవేత్త వేసిన ఒక కీలకమైన ప్రశ్న అతనికి తోడ్పడింది: “ఒక జీవి ఉత్పత్తి చేసే శక్తి, వేడి (Heat), పూర్తిగా ఆ జీవి తీసుకునే ఆహారం (Metabolism) నుండే వస్తుందా?”
హెల్మ్హోల్ట్జ్ తన బారక్స్ లాబ్లో కండరాల పనితీరుపై ప్రయోగాలు చేశాడు. ఒక జంతువు విడుదల చేసే వేడిని ‘కలోరీమీటర్’ (Calorimeter) లో కొలిచినప్పుడు, ఆ వేడి సరిగ్గా ఆ జంతువు తీసుకున్న ఆహారం, ఆక్సిజన్ కలవడం వల్ల వచ్చే వేడికి సమానంగా ఉందని కనుగొన్నాడు. అక్కడ ఎక్కడా అదనంగా ఒక ‘మాయా జీవశక్తి’ ప్రమేయం లేదని తేల్చాడు.
మెకానిక్స్ సూత్రాల ప్రకారం, ఏ యంత్రమూ బయటి నుండి శక్తి అందకుండా పని చేయలేదు. ‘వైటలిజం’ సిద్ధాంతం మనిషిని ఒక “నిరంతర చలన యంత్రం” లాగా భావిస్తుంది — అంటే ఇంధనం లేకుండానే శక్తిని పుట్టించే యంత్రంలాగా. ఇది అసాధ్యమని హెల్మ్హోల్ట్జ్ భావించాడు.
ఈ ఆలోచనల నుండే 1847లో హెల్మ్హోల్ట్జ్ తన ప్రసిద్ధ పరిశోధనా పత్రాన్ని సమర్పించాడు:
- ప్రకృతిలో ఏ శక్తీ శూన్యం నుండి పుట్టదు. యాంత్రిక శక్తి ఖర్చు కాకుండా కొత్త శక్తి సృష్టించబడదు.
- శక్తి ఒక యంత్రంలో కనుమరుగైనట్లు అనిపించినా, అది విశ్వం మొత్తంలో ఎక్కడికీ పోదు; అది మరొక రూపంలోకి (వేడి లేదా శబ్దం వంటివి) మారుతుంది.
దీని గురించి మాక్స్ ప్లాంక్ అన్న జర్మన్ శాస్త్రవేత్త అన్న మాటలు: “మానవ ప్రమేయంతో సంబంధం లేకుండా, విశ్వవ్యాప్తంగా నిరపేక్షమైన విలువ కలిగిన ఒక సూత్రాన్ని నేను మొదటిసారి తెలుసుకున్నప్పుడు, నా మనస్సు దానిని ఒక దైవికమైన వెల్లడిలా (Revelation) అమితమైన ఆసక్తితో స్వీకరించింది. అదే—శక్తి నిత్యత్వ నియమం.”
నేత్రదర్శిని (Ophthalmoscope)
1851లో హెల్మ్హోల్ట్జ్ రూపొందించిన ఆప్టాల్మోస్కోప్ (దీనిని అతను “కంటి అద్దం” అని పిలిచేవాడు) వైద్య చరిత్రలో ఒక గొప్ప మలుపు. ఈ ఆవిష్కరణ వెనుక ఉన్న ప్రశ్న చాలా సూటి అయినది: మనకు ఎదురుగా ఉన్న వ్యక్తి కనుపాప సాధారణంగా నల్లగా కనిపిస్తుంది, కానీ కొన్నిసార్లు అది ఎర్రగా వెలిగినట్లు (Red reflex) ఎందుకు కనిపిస్తుంది? ఈ రహస్యాన్ని ఛేదించి, జీవించి ఉన్న వ్యక్తి కంటి లోపలి పొరను (Retina) నేరుగా చూడాలని హెల్మ్హోల్ట్జ్ కోరుకున్నాడు.
దీనికి ఉన్న శాస్త్రీయమైన అడ్డంకి: కంటి నుంచి వెలుగు తిరిగి రావాలంటే ముందుగా కంటి మీద వెలుగు పడాలి. కానీ అదే సమయంలో చూసే వ్యక్తి (పరిశీలకుడు) కూడా ఆ తిరిగి వచ్చే కాంతిని గమనించాలి. సాధారణంగా మనం బయటి నుంచి కంటిని చూసినప్పుడు, వెలుగు పడే దారి (Illumination axis), మనం చూసే దారి (Viewing axis) వేర్వేరుగా ఉంటాయి. అందుకే కంటి లోపల పడి వెనక్కి వచ్చే కాంతి మన కళ్ళలోకి చేరదు, ఫలితంగా కనుపాప నల్లగా కనిపిస్తుంది.
హెల్మ్హోల్ట్జ్ కీలకమైన ఉపాయం, ఈ రెండు దారులని దాదాపు ఒకే రేఖపై (Co-axial) తీసుకురావడం. ఒక నిర్ణీత కోణంలో అమర్చిన అద్దం ద్వారా దీపం వెలుగును కంటిలోకి పంపి, అదే సమయంలో ఆ అద్దం వెనుక నుండి ఒక చిన్న రంధ్రం ద్వారా పరిశీలకుడు లోపలికి చూసేలా అతను ఏర్పాటు చేశాడు. ఇందులో స్పష్టత కోసం మాగ్నిఫైయింగ్ లెన్స్ కూడా వాడాడు.
మొదటి నమూనాల్లో వెలుగును ప్రతిబింబించే గాజు పలకలను వాడటం ద్వారా—వెలుగు కంటిలోకి వెళ్లడమూ, తిరిగి వచ్చే కాంతి పరిశీలకుడికి చేరడమూ ఒకే మార్గంలో జరిగేలా చేశాడు. ఈ పద్ధతి వల్ల మొదటిసారిగా “జీవించి ఉన్న కంటి లోపలి దృశ్యం” మనిషికి స్పష్టంగా కనిపించింది.
బహుముఖ ప్రజ్ఞాశాలి
హెల్మ్హోల్ట్జ్ తన వైద్య, శరీర ధర్మ శాస్త్ర (Physiological) అధ్యయనాల నుండి విశ్రాంతి పొందడానికి, ఆయిలర్ (Euler), బెర్నౌలీ (Bernoulli), డి’అలంబర్ట్ (d’Alembert) వంటి మేధావుల గణిత శాస్త్ర రచనలను చదివేవాడు. వాటితో పాటు గోథే (Goethe) కవిత్వాన్ని, కాంట్ (Kant) తత్వశాస్త్రాన్ని కూడా అధ్యయనం చేసేవాడు.
కప్ప కాలికి ఒక సూచిని కట్టి, విద్యుత్ ఇచ్చినప్పుడు కలిగే దాని కుదుపులను పొగమంచు పట్టిన గాజు పలక మీద నమోదు చేయగలిగాడు. ఉత్తేజనం (stimulus) ఇచ్చిన క్షణం నుంచి కాలి కుదుపు (twitch) జరిగే క్షణం మధ్య ఉన్న అంతరాన్ని కొలిచి నాడీ ప్రేరణ (nerve impulse) ప్రయాణించే వేగాన్ని తొలిసారిగా కొలిచాడు.
చెవి మీద పరిశోధనలు చేసి, “Sensations of Tone” అన్న గ్రంథం ప్రచురించాడు. అతని పరిశోధనల ఆధారంగా ప్రఖ్యాత పియానో కంపెనీ, Steinway & Sons, పియానోల తయారీలో మార్పులు చేసింది.
హెల్మ్హోల్ట్జ్ కాలంలో జర్మనీలో ‘హెగెల్’ వంటి తత్వవేత్తల ప్రభావం ఎక్కువగా ఉండేది. వారు కేవలం ఆలోచనల ద్వారానే ప్రపంచాన్ని అర్థం చేసుకోవచ్చని నమ్మేవారు. హెల్మ్హోల్ట్జ్ దీనిని తీవ్రంగా వ్యతిరేకించాడు. ప్రకృతి రహస్యాలను తెలుసుకోవడానికి కేవలం మెదడుతో ఆలోచిస్తే సరిపోదని, కళ్ళతో చూసి, ప్రయోగాలు చేసి నిరూపించాలని అతను చెప్పాడు.
హెల్మ్హోల్ట్జ్ కేవలం నిగూఢమైన శాస్త్రీయ పరిశోధనలకే పరిమితం కాలేదు. బ్రిటన్, జర్మనీలలో సామాన్య ప్రజలకు సైన్స్పై అవగాహన పెంచడానికి ఆయన ఎన్నో ప్రజాదరణ పొందిన ఉపన్యాసాలు ఇచ్చాడు. క్లిష్టమైన భౌతికశాస్త్ర సూత్రాలను సామాన్యులకు అర్థమయ్యేలా వివరించడంలో ఆయన సిద్ధహస్తుడు. ఆయన చేసిన సరళమైన రచనలు శాస్త్రీయ దృక్పథాన్ని ప్రజల్లోకి తీసుకెళ్లడంలో కీలక పాత్ర పోషించాయి.
దేశంలోని కొన్ని ముఖ్యమైన శాస్త్రీయ, సాంకేతిక సంస్థలని నిర్మించడంలో అతను కీలక పాత్ర పోషించాడు. హెల్మ్హోల్ట్జ్ బెర్లిన్ విశ్వ విద్యాలయంలో ప్రొఫెసర్గా పని చేస్తున్నప్పుడు, హెర్ట్జ్ అతని దృష్టికి వచ్చాడు.
హెర్ట్జ్ శిష్యరికం
యూనివర్శిటీలో చేరి కేవలం ఒక సంవత్సరం మాత్రమే గడిచినప్పటికీ, హెర్ట్జ్కు వెంటనే పరిశోధన మొదలుపెట్టాలని ఉత్సాహం కలిగింది. “విద్యుత్ జడత్వం (Electrical inertia)”కు సంబంధించిన ఒక ప్రయోగ సమస్యకు పరిష్కారం కనుగొనడానికి తత్త్వశాస్త్ర ఫ్యాకల్టీ ఒక బహుమతిని ప్రకటించింది. ఆ బహుమతి అంశాన్ని హెల్మ్హోల్ట్జ్ స్వయంగా ప్రతిపాదించాడు. హెర్ట్జ్కు అనుభవం తక్కువగా ఉన్నప్పటికీ, అతనిలోని అపార ప్రతిభను హెల్మ్హోల్ట్జ్ గుర్తించి, తన ఫిజికల్ ఇన్స్టిట్యూట్లో అతనికి ఒక గదిని కేటాయించి, సహాయం అందించాడు.
1879లో హెర్ట్జ్కు ఆ బహుమతితో పాటు బంగారు పతకం కూడా లభించింది. అప్పుడే హెల్మ్హోల్ట్జ్, బెర్లిన్ అకాడమీ ఆఫ్ సైన్సెస్ కోసం తాను ప్రతిపాదించిన ఒక ముఖ్యమైన అంశంపై పనిచేయమని హెర్ట్జ్కు సూచించాడు. అది: మాక్స్వెల్ సిద్ధాంతానికి అనుకూలంగానో లేదా ప్రతికూలంగానో ప్రయోగాత్మక సాక్ష్యాలు ఇవ్వడం. ఇది హెర్ట్జ్కు ఆసక్తికరంగా అనిపించినప్పటికీ, దీనికి దాదాపు మూడు సంవత్సరాలు పట్టే అవకాశం ఉందని భావించి అప్పుడే మొదలుపెట్టలేనని చెప్పాడు. దానికి బదులుగా విద్యుదయస్కాంత ప్రేరణ (Electromagnetic induction)పై పరిశోధన చేసి, 1880లో బెర్లిన్ విశ్వవిద్యాలయం నుంచి విశిష్టతతో డాక్టరేట్ పొందాడు.
1880–83 మధ్య కాలంలో హెర్ట్జ్ బెర్లిన్ ఫిజికల్ ఇన్స్టిట్యూట్లో పనిచేసి, హెల్మ్హోల్ట్జ్ ఇచ్చిన మంచి సిఫార్సుతో కీల్ విశ్వవిద్యాలయంలో చేరాడు. కానీ అక్కడ ప్రయోగశాలలో సరైన పరికరాలు లేకపోవడంతో, అది వదిలి, 1885లో కార్ల్స్రూహే టెక్నిషే హోఖ్షూలే (Technische Hochschule)లో ప్రొఫెసరుగా చేరాడు. కార్ల్స్రూహేకు వచ్చిన వెంటనే తన సహోద్యోగి కుమార్తె ఎలిజబెత్ డాల్ను కలిశాడు; వారు 1886 జూలైలో వివాహం చేసుకున్నారు. వారికి ఇద్దరు కుమార్తెలు—జోహన్నా, మాథిల్డె.
హెల్మ్హోల్ట్జ్ 1879లోనే ప్రతిపాదించి, తనను ప్రోత్సహించిన ఆ పాత సమస్యపై (మాక్స్వెల్ సిద్ధాంత నిరూపణ) హెర్ట్జ్ చివరకు 1886లో ప్రయోగాలు చేయడం మొదలుపెట్టాడు.
తక్కువ వోల్టేజ్ నుండి ఘనమైన వోల్టేజ్
ఇనుప కడ్డీ (M) చుట్టూ రెండు రకాల తీగ చుట్టలను అమర్చి ప్రేరణ తీగ చుట్టను (Induction coil) తయారు చేస్తారు. ప్రాథమిక (P) చుట్టలో చుట్లు తక్కువగా (వందలలో), రెండో (S) చుట్టలో చాలా ఎక్కువగా (లక్షలలో) ఉంటాయి. ప్రాథమిక చుట్టకు బ్యాటరీని కలిపి విద్యుత్తు పంపితే, ఇనుప కడ్డీ శక్తివంతమైన అయస్కాంతంగా మారి దాని చుట్టూ అయస్కాంత క్షేత్రం ఏర్పడుతుంది. విద్యుత్తును ఆపితే, ఒక్కసారిగా ఆ అయస్కాంత క్షేత్రం కూలిపోయి, ఆ తీవ్ర మార్పు వల్ల రెండో చుట్టలో ప్రేరణ కలిగి విద్యుత్తు పుడుతుంది.
అందులో లక్షలాది చుట్టలు ఉండటం వల్ల ఏర్పడే వోల్టేజ్ వెయ్యి రెట్లు ఎక్కువగా, చాలా శక్తివంతంగా ఉంటుంది. ఇది తక్కువ నీటి ప్రవాహాన్ని ఒక డ్యామ్ వెనుక నిలిపి ఉంచి, ఒక్కసారిగా గేట్లు ఎత్తితే వచ్చే భీకర ప్రవాహం లాంటిది. అప్పుడు తీగెలు విడిపోయి ఉన్నా, ఆ సందులో (G) ‘నిప్పురవ్వ’ వెలుగుతుంది.
ఈ కాయిల్ నిరంతరం పనిచేయాలంటే, బ్యాటరీ నుండి వచ్చే విద్యుత్తును (Direct Current) పదేపదే కలపడం, ఆపడం చేయాలి. ఈ పనిని చేసేదే ‘ఇంటరప్టర్’ (Interrupter):
అయస్కాంత ఆకర్షణ: స్విచ్ ఆన్ చేయగానే ప్రైమరీ కాయిల్లో విద్యుత్ ప్రవహించి, ఇనుప కడ్డీ అయస్కాంతంగా మారుతుంది. ఇది పక్కనే ఉన్న ఒక చిన్న ఇనుప ముక్కను (A – Armature) తనవైపుకు లాక్కుంటుంది.
సర్క్యూట్ తెగిపోవడం: ఆ ఇనుప ముక్క కదలగానే, అక్కడ ఉన్న కాంటాక్ట్ పాయింట్లు (K) విడిపోతాయి. దీనివల్ల విద్యుత్ ప్రవాహం ఒక్కసారిగా ఆగిపోతుంది.
నిప్పురవ్వ జననం: విద్యుత్ ఆగిపోగానే అయస్కాంత క్షేత్రం కుప్పకూలిపోతుంది. ఈ ఆకస్మిక మార్పు వల్లే సెకండరీ కాయిల్లో భారీ వోల్టేజ్ పుట్టి ‘నిప్పురవ్వ’ (Spark) వస్తుంది.
తిరిగి మొదటికి: ఇప్పుడు అయస్కాంత శక్తి పోయింది కాబట్టి, ఆ ఇనుప ముక్క మళ్ళీ తన పాత స్థానానికి చేరుకుంటుంది. అప్పుడు పాయింట్లు మళ్ళీ కలిసి, విద్యుత్ ప్రవాహం మళ్ళీ మొదలవుతుంది.
ఈ ప్రక్రియ సెకనుకు అనేక సార్లు జరుగుతుంది. దీనివల్ల నిరంతరం నిప్పురవ్వలు పుడుతూనే ఉంటాయి.
రేడియో ప్రసారిణి (Radio Transmitter)
దీని సహాయంతోనే హెర్ట్జ్ రేడియో తరంగాలను కనుగొన్నాడు. ఒక మీటర్ పొడవున్న రెండు రాగి తీగలను తీసుకుని, వాటి లోపలి చివరల మధ్య 7.5 మిల్లీమీటర్ల ఖాళీ ఉంచి, బయటివైపు చివరల వద్ద 30 సెంటీమీటర్ల తగరపు గోళాలను అమర్చాడు. కెపాసిటెన్స్ను మార్చి, దాని ద్వారా ఆవృతిని (Frequency) మార్చడానికి హెర్ట్జ్ వివిధ పరిమాణాల గోళాలను ఉపయోగించేవాడు. ఈ పరికరం ఒక అర్ధ-తరంగ ద్విదండ యాంటెన్నా (Half-wave dipole antenna) లా పనిచేసేది. ఒక ఇండక్షన్ కాయిల్ ఈ రెండు వైపుల మధ్య సుమారు 20,000 వోల్టుల అధిక వోల్టేజ్ను ప్రయోగించేది; దాంతో మధ్యలోని ఖాళీలో నిప్పురవ్వలు ఏర్పడేవి. ఈ స్పార్క్ల వల్ల యాంటెన్నాలో దాని ప్రతిధ్వని ఆవృతికి (Resonant frequency) అనుగుణంగా విద్యుత్ ప్రవాహం సెకనుకు కోట్ల సార్లు అటు ఇటు కదులుతూ (Oscillating) రేడియో తరంగాలను విడుదల చేసేది. ఆ తరంగాల ఆవృతి సుమారు 50 MHz; ఇది ఆధునిక టెలివిజన్ ప్రసారాల ఆవృతికి దగ్గరగా ఉంటుంది.
హెర్ట్జ్ రేడియో ప్రసారిణి – ప్రేరణ తీగె చుట్ట లేకుండా
మాక్స్వెల్ సిద్ధాంతం ప్రకారం, విద్యుత్తు కేవలం తీగెలలోనే కాదు, గాలి వంటి విద్యుత్ నిరోధక పదార్థాల (Insulators) గుండా కూడా ఒక అదృశ్య ప్రవాహంగా ప్రయాణించగలదు. దీనినే ఆయన ‘స్థానభ్రంశ ప్రవాహం’ (Displacement Current) అని పిలిచాడు. హెర్ట్జ్ తన ప్రయోగంలో ఈ సిద్ధాంతానికే ప్రాణం పోశాడు.
ఇండక్షన్ కాయిల్ ద్వారా వేల వోల్టుల విద్యుత్తును పంపినప్పుడు, ఆ రాగి తీగెలు, వాటి చివరన ఉన్న లోహపు గోళాలు ఒక ‘కెపాసిటర్’లా పనిచేస్తూ విద్యుత్ శక్తిని నిక్షిప్తం చేసుకుంటాయి. అంటే, వింటిని వెనక్కి లాగి పట్టుకున్నప్పుడు అందులో శక్తి ఎలా నిల్వ ఉంటుందో, ఈ తీగల్లో విద్యుత్ శక్తి అలా నిశ్చలంగా వేచి ఉంటుంది. ఎప్పుడైతే ఆ వోల్టేజ్ గాలి నిరోధకతను దాటుతుందో, మధ్యలో ఒక నిప్పురవ్వ (Spark) పుడుతుంది. ఈ నిప్పురవ్వ ఒక వంతెనలా పనిచేయగానే, అప్పటివరకు నిల్వ ఉన్న విద్యుత్ శక్తి అత్యంత వేగంగా ఒక వైపు నుండి మరో వైపుకు ఊగులాడుతుంది (Oscillation).
ఈ వేగవంతమైన కదలిక వల్ల రాగి తీగల చుట్టూ ఉన్న విద్యుత్ క్షేత్రంలో నిరంతర మార్పులు సంభవిస్తాయి. మారుతున్న విద్యుత్ క్షేత్రం గాలిలో ‘స్థానభ్రంశ ప్రవాహాన్ని’ సృష్టించి, తద్వారా ఒక అయస్కాంత క్షేత్రాన్ని పుట్టిస్తుంది. ఈ రెండు క్షేత్రాలు ఒకదానికొకటి తోడవుతూ, ఒకదానిని ఒకటి సృష్టించుకుంటూ అల్లిన జడలాగా అంతరిక్షంలోకి ప్రయాణిస్తాయి. ఇదే విద్యుదయస్కాంత తరంగం (Electromagnetic Wave). అంటే, రాగి తీగలు ఒక ‘యాంటెన్నా’లా పనిచేస్తూ ఈ శక్తిని గాలిలోకి విసరుతాయి. హెర్ట్జ్ తన రిసీవర్ ద్వారా ఈ తరంగాలను పట్టుకుని, మాక్స్వెల్ గణితం కేవలం కాగితం మీద లెక్క కాదు, అది ప్రకృతిలో అంతర్లీనంగా ఉన్న అద్భుత శక్తి అని నిరూపించాడు.
హెర్ట్జ్ రిసీవర్
హెర్ట్జ్ తన ప్రయోగంలో ట్రాన్స్మిటర్ పంపిన తరంగాలను పట్టుకోవడానికి ఎటువంటి క్లిష్టమైన యంత్రాలనూ వాడలేదు. అతని రిసీవర్ కేవలం ఒక లోహపు తీగతో చేసిన చిన్న వలయం మాత్రమే. ఇది వృత్తాకారంలో చుట్టబడిన ఒక రాగి తీగ.
ఈ వలయం పూర్తి కాకుండా, రెండు చివరల మధ్య ఒక అతి చిన్న ఖాళీ ఉంటుంది. ఈ ఖాళీని ఒక స్క్రూ ద్వారా చాలా సూక్ష్మంగా (మిల్లీమీటర్లలో పదో వంతు వరకు) సర్దుబాటు చేసే వీలుంటుంది.
- రెజోనెన్స్ (అనునాదం): ఈ రిసీవర్ పనితీరులో అత్యంత ముఖ్యమైనది ‘రెజోనెన్స్’. హెర్ట్జ్ తన రిసీవర్ వలయం పొడవును, ట్రాన్స్మిటర్ పంపే తరంగాల పౌనఃపున్యానికి (Frequency) సరిపోయేలా సెట్ చేశాడు. అంటే, రెండు వస్తువులు ఒకే శ్రుతిలో ఉన్నప్పుడు మాత్రమే శక్తి ఒకదాని నుండి మరొకదానికి బదిలీ అవుతుంది.
- ప్రేరణ (Induction): ట్రాన్స్మిటర్ నుండి వెలువడిన విద్యుదయస్కాంత తరంగాలు గాలిలో ప్రయాణించి ఈ రిసీవర్ వలయాన్ని తాకగానే, అందులో విద్యుత్ ప్రవాహాన్ని ప్రేరేపిస్తాయి.
- రిసీవర్ స్పార్క్: రిసీవర్ వలయంలో పుట్టిన ఆ విద్యుత్, లోహపు చివరల మధ్య ఉన్న చిన్న ఖాళీని దాటడానికి ప్రయత్నిస్తుంది. అప్పుడు అక్కడ ఒక అతి చిన్న నిప్పురవ్వ (Tiny Spark) పుడుతుంది.
ఈ చిన్న నిప్పురవ్వే భవిష్యత్తులో రేడియో, టెలివిజన్, వై-ఫై (Wi-Fi) వంటి విప్లవాత్మక ఆవిష్కరణలకు పునాది వేసింది.
హెర్ట్జ్ ట్రాన్స్మిటర్ – రిసీవర్
కాంతితో పోలికలు
హెర్ట్జ్ తన ప్రయోగాల ద్వారా రేడియో తరంగాలు కేవలం విద్యుత్ ప్రవాహాలు కావని, అవి కాంతి లాగే ప్రవర్తించే ‘విద్యుదయస్కాంత తరంగాలు’ అని నిరూపించాడు.
పరావర్తనం (Reflection): హెర్ట్జ్ తన ప్రయోగశాలలో ఒక పెద్ద తగరపు రేకుని గోడకు అంటించి, దానిపైకి ట్రాన్స్మిటర్ నుండి వెలువడిన తరంగాలను పంపాడు. కాంతి అద్దానికి తగిలి వెనక్కి వచ్చినట్లుగానే, అవి ఆ లోహపు రేకుని తాకి వెనక్కి మళ్ళి రిసీవర్ని చేరాయి.
పారదర్శకత: లోహపు రేకుని దాటి రేడియో తరంగాలు వెళ్ళ లేవు కాని, చెక్క తెలుపులు, రాతి గోడలు వాటిని అడ్డుకోలేవు. కాంతి కూడా కొన్ని పదార్థాల (గాజు, నీరు) గుండా వెళ్తుంది. చెక్క కాంతిని అడ్డుకోవడానికి, రేడియో తరంగాలని అడ్డుకోకపోవడానికి కారణం, ఆయా తరంగాల పొడవులోని భేదమే.
వక్రీభవనం (Refraction): కాంతి కిరణాలు నీటిలోనో, గాజులోనో ప్రవేశించినప్పుడు కొంచెం వంగుతాయి. రేడియో తరంగాలకు కూడా ఈ గుణం ఉందని నిరూపించడానికి హెర్ట్జ్ ఒక భారీ ‘ప్రిజం’ను తయారు చేశాడు.
హెర్ట్జ్ సృష్టించిన విద్యుదయస్కాంత తరంగాల పొడవు చాలా ఎక్కువగా ఉండేది (సుమారు 60 సెంటీమీటర్ల నుండి 1 మీటరు వరకు). ఒక తరంగాన్ని వంచాలంటే, ఆ వస్తువు (Prism) కనీసం ఆ తరంగ పొడవు పరిమాణంలో ఉండాలి. అంత పెద్ద గాజు ప్రిజం తయారు చేయడం కష్టమూ, ఖరీదూ కనుక హెర్ట్జ్ చౌకగా దొరికే పిచ్ను (Pitch – ఒక రకమైన తారు) వాడాడు.
పిచ్ విద్యుత్ నిరోధక పదార్థం (Dielectric insulator). మాక్స్వెల్ సిద్ధాంతం ప్రకారం, విద్యుదయస్కాంత తరంగాలు లోహాల గుండా ప్రయాణించలేవు కానీ, విద్యుత్ ప్రవహించని పదార్థాల గుండా ప్రయాణిస్తాయి. హెర్ట్జ్ సుమారు 1.5 మీటర్ల ఎత్తు, 1.2 టన్నుల బరువు ఉన్న భారీ ప్రిజంను తయారు చేశాడు. పిచ్ను వేడి చేసి ద్రవ రూపంలోకి మార్చి, చెక్కతో చేసిన త్రిభుజాకారపు పెట్టెలో పోసి గడ్డకట్టేలా చేశాడు. ఈ భారీ పిచ్ ప్రిజంను ట్రాన్స్మిటర్, రిసీవర్ల మధ్య ఉంచినప్పుడు, తరంగాలు నేరుగా వెళ్లకుండా 22 డిగ్రీల కోణంలో కాంతి గాజు గుండా ప్రయాణించినప్పుడు వంగినట్లే వంగాయి.
వక్రీభనం చెందిన రేడియో తరంగాలు
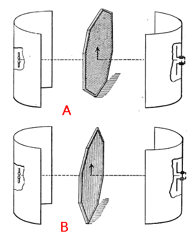
ధ్రువణం (Polarization): తరంగాలు ప్రయాణించేటప్పుడు అవి ఏ దిశలో కంపిస్తున్నాయి అనేదాన్ని బట్టి వాటిని రెండు రకాలుగా విభజిస్తారు. ఒకటి నిలువు తరంగాలు (Longitudinal – ఉదా: శబ్దం), రెండోది అడ్డ తరంగాలు (Transverse – ఉదా: కాంతి).
తరంగం ప్రయాణించే దిశకు, దాని కంపనలు (Vibrations) లంబంగా (Perpendicular) ఉంటే దానిని అడ్డ తరంగం అంటారు. ఉదా: ఒక తాడును గోడకు కట్టి, రెండో చివరను పట్టుకుని చేతిని పైకి, కిందకు ఊపితే, ఆ తాడులో అలలు పుట్టి గోడ వైపు ప్రయాణిస్తాయి. ఇక్కడ తరంగం గోడ వైపు వెళ్తోంది, కానీ తాడు మాత్రం పైకి, కిందకు కదులుతోంది.
హెర్ట్జ్ దీన్ని తన ధ్రువణ ప్రయోగం ద్వారా నిరూపించాడు:
తీగలు సమాంతరంగా ఉన్నప్పుడు: రేడియో తరంగంలోని విద్యుత్ క్షేత్రం (Electric Field) తీగలకు సమాంతరంగా ఉంటే, ఆ తీగలలోని ఎలక్ట్రాన్లు తీగ పొడవునా స్వేచ్ఛగా కదులుతాయి. దీనివల్ల తీగలు ఆ తరంగ శక్తిని గ్రహించి (Absorb), తిరిగి వెనక్కి పరావర్తనం (Reflect) చేస్తాయి. ఫలితంగా తరంగం గ్రిడ్ను దాటి అవతలికి వెళ్ళలేదు. అక్కడ ‘నీడ’ (Shadow) ఏర్పడుతుంది.
తీగలు లంబంగా ఉన్నప్పుడు: మనం గ్రిడ్ను 90 డిగ్రీలు తిప్పినప్పుడు, విద్యుత్ క్షేత్రం తీగలకు లంబంగా మారుతుంది. తీగ వెడల్పు చాలా తక్కువ కాబట్టి, ఎలక్ట్రాన్లు కదలడానికి తగినంత దారి ఉండదు. దీనివల్ల అవి తరంగ శక్తిని గ్రహించలేవు. ఫలితంగా తరంగాలు ఎటువంటి ఆటంకం లేకుండా గ్రిడ్ సందుల్లోంచి అవతలికి ప్రయాణిస్తాయి. అప్పుడు రిసీవర్లో నిప్పురవ్వ కనిపిస్తుంది.
వేగం: హెర్ట్జ్ తన “హెర్ట్జియన్ తరంగాలు” కాంతివేగానికి సమానమైన వేగంతో ప్రయాణిస్తాయని చూపడానికి ముందుగా తరంగదైర్ఘ్యాన్ని (Wavelength – \(\lambda\)) ప్రయోగాత్మకంగా కొలిచాడు. ఇందుకోసం అతను ట్రాన్స్మిటర్ను ఒక పెద్ద లోహపు గోడ (అద్దంలా పనిచేసే ఉపరితలం) ముందు ఉంచాడు.
గోడ నుండి వెనక్కి వచ్చే తరంగాలు, ట్రాన్స్మిటర్ నుండి వచ్చే తరంగాలతో కలిసి నిలకడగా ఉన్న తరంగాలు (Standing waves) ఏర్పడతాయి. హెర్ట్జ్ తన రిసీవర్ వలయాన్ని గోడ ముందు వివిధ దూరాల్లో జరిపి చూశాడు. అక్కడ కొన్ని చోట్ల నిప్పురవ్వ (Spark) బలంగా, మరికొన్ని చోట్ల బలహీనంగా కనిపించడాన్ని గమనించాడు.
- నిప్పురవ్వ లేని చోటును కనిష్ఠం (Node) అంటారు.
- వరుసగా ఉండే రెండు కనిష్ఠాల మధ్య దూరం తరంగదైర్ఘ్యంలో సగం (\(\lambda/2\)) కి సమానం.
ఈ అంతరాలను కొలవడం ద్వారా అతను \(\lambda\) విలువను పొందాడు. ఆ తర్వాత తన ఆసిలేటర్ లక్షణాల ఆధారంగా ఆవృతిని (\(f\)) అంచనా వేసి, తరంగవేగసూత్రం అయిన \(v = f\lambda\) ఉపయోగించి లెక్కించాడు.
ఈ లెక్కన వచ్చిన వేగం కాంతి వేగానికి సమానంగా (సుమారు \(3 \times 10^8\) మీ/సె) ఉందని చూపించాడు. అందువల్ల మాక్స్వెల్ చెప్పినట్లుగా “వెలుగు కూడా ఒక విద్యుదయస్కాంత తరంగమే” అన్న భావనకు ఇది బలమైన ప్రయోగాత్మక ఆధారంగా నిలిచింది.
ఈ ప్రయోగాల ఫలితాలను 1886-1888 మధ్యన ప్రచురించాడు. తన ఉపన్యాసాలలో, “కాంతి రూపాలన్నీ – సూర్య రశ్మి, కొవ్వొత్తి వెలుగు, మిణుగురు పురుగు మెరుపు – విద్యుత్ రూపాలే,” అని ఉద్ఘాటించాడు.
హెర్ట్జ్ అవసాన దశ
హెర్ట్జ్ ప్రయోగాల ప్రాముఖ్యత వెంటనే యూరప్ అంతా ప్రాకింది; అతనికి ఎన్నో గౌరవ బిరుదులు దక్కాయి. 1889లో ఆయన బాన్ విశ్వవిద్యాలయంలో భౌతికశాస్త్ర ప్రొఫెసర్గా నియమితుడయ్యాడు. అక్కడ అతను చేసిన కొత్త పరిశోధనలు భౌతికశాస్త్రంలో మరో కొత్త అధ్యాయమైన అణుశాస్త్రానికి పునాది వేశాయి, ముఖ్యంగా ‘ఎలక్ట్రాన్’ను కనుగొనడానికి ఇవి ఎంతో దోహదపడ్డాయి. కానీ ఇవి ఒక కొలిక్కి చేరక ముందే హెర్ట్జ్ ఆరోగ్యం తీవ్రంగా దెబ్బతింది.
చాలా కాలంగా హెర్ట్జ్ విపరీతమైన తలనొప్పితో బాధపడేవాడు. 1892లో జరిగిన ఆపరేషన్ వ్యాధిని నయం చేయకపోగా మరింత విషమింపజేసింది. జనవరి 1, 1894న తన 36వ ఏట బాన్ నగరంలో, హెర్ట్జ్ తన భార్యను, పదేళ్లయినా నిండని ఇద్దరు కూతుళ్లను వదిలి మరణించాడు. (చాలా కాలం తర్వాత అతనిది రక్తనాళాల వాపుకు సంబంధించిన చాలా అరుదైన వ్యాధి అని తేలింది).
అతని పిల్లలిద్దరూ చదువులో బాగా రాణించారు. పెద్దమ్మాయి జోహన్నా (Johanna) పిల్లల వైద్యురాలిగా, చిన్నమ్మాయి మాథిల్డె (Mathilde) జీవశాస్త్రవేత్తగా పట్టాలు పొందారు. ఆడపిల్లలకు విద్యావసతులు అంతంత మాత్రంగా ఉన్న ఆ రోజుల్లోనే వీరు ఉన్నత విద్యావంతులు కావడం గొప్ప విషయం. కానీ జర్మనీలో వచ్చిన రాజకీయ మార్పుల వల్ల యూదు వారసత్వం ఉన్న హెర్ట్జ్ కుటుంబం దేశం వదిలి వెళ్లాల్సి వచ్చింది.
నాజీ పాలనలో మేధావుల నైతిక సంక్షోభం
హిట్లర్ 1933లో అధికారంలోకి వచ్చినప్పుడు, జర్మనీలోని మేధావులలో కొందరు నాజీ సిద్ధాంతాలను మనస్ఫూర్తిగా సమర్థిస్తే, మరికొందరు తమ వృత్తిని కాపాడుకోవడానికి నైతిక విలువలను పక్కన పెట్టారు. ఇందుకు ఉదాహరణలుగా ఇద్దరు ప్రముఖ శాస్త్రవేత్తలను తీసుకోవచ్చు.
ఫిలిప్ లెనార్డ్ (Philipp Lenard, 1862 – 1947, 1905 నోబెల్): లెనార్డ్ ఒకప్పుడు హెర్ట్జ్ వద్ద అసిస్టెంట్గా పనిచేశాడు. హెర్ట్జ్ చేసిన కాథోడ్ కిరణాల పరిశోధనల్లో కీలక పాత్ర పోషించడమే కాక, హెర్ట్జ్ మరణం తర్వాత అతని శాస్త్రీయ పత్రాలను ప్రచురించడంలో కూడా ఎంతో శ్రమించాడు. కానీ, కాలక్రమేణా లెనార్డ్ వ్యక్తిత్వంలో మార్పు వచ్చింది. మొదటి ప్రపంచ యుద్ధం తర్వాత జర్మనీ ఓటమిని అతను జీర్ణించుకోలేకపోయాడు. హెర్ట్జ్కు యూదు మూలాలు ఉన్నాయనే నిజాన్ని అతను క్రమంగా అసహ్యించుకోసాగాడు.
లెనార్డ్ నాజీ పార్టీలో చేరి, హిట్లర్కు అత్యంత సన్నిహితుడయ్యాడు. ఐన్స్టీన్ వంటి మేధావుల పరిశోధనలను ‘యూదుల భౌతికశాస్త్రం’ (Jewish Physics) అని కొట్టిపారేస్తూ, అతను జర్మనీలో ‘ఆర్యన్ ఫిజిక్స్’ (Deutsche Physik) అనే ఉద్యమాన్ని నడిపాడు. “రేడియో తరంగాలను హెర్ట్జ్ కనుగొన్నది కేవలం అదృష్టం వల్లనే తప్ప, అతని మేధస్సు వల్ల కాదు” అని ప్రచారం చేసి, హెర్ట్జ్ పేరును కూడా చరిత్ర నుండి తుడిచిపెట్టడానికి లెనార్డ్ ప్రయత్నించాడు.
కొందరు నాజీలు Hz కొలమానం హెర్ట్జ్ కి బదులు ఆర్యుడైన హెల్మ్హోల్ట్జ్ పేరుని సూచిస్తుందని రికార్డు చెయ్యాలని ప్రయత్నించి విఫలమయ్యారు.
మాక్స్ ప్లాంక్ (Max Planck, 1858 – 1947, 1918 నోబెల్): ప్లాంక్ జర్మనీలో అత్యున్నత గౌరవం పొందిన శాస్త్రవేత్త. కానీ హిట్లర్ విషయంలో అతని వైఖరి చాలా చర్చనీయాంశమైంది. ప్లాంక్ వ్యక్తిగతంగా హిట్లర్కు పూర్తి మద్దతుదారుడు కాదు, కానీ అతను హిట్లర్ క్రూరత్వానికి వ్యతిరేకంగా గొంతు ఎత్తలేదు. 1933లో హిట్లర్ను కలిసినప్పుడు, ప్లాంక్ యూదు శాస్త్రవేత్తలను దేశం నుండి వెళ్లగొట్టవద్దని కోరాడు. అయితే, అతని వాదన నైతికమైంది కాదు. “ఆ యూదు శాస్త్రవేత్తల పరిశోధనలు జర్మనీ ప్రయోజనాలకు, దేశ పురోగతికి అవసరం” అని మాత్రమే అతను వాదించాడు. యూదులపై జరుగుతున్న దాడులు ‘నైతికంగా తప్పు’ అని చెప్పడానికి ప్లాంక్ ఎప్పుడూ ప్రయత్నించలేదు.
చివరకు అతను నాజీ ప్రభుత్వానికి విధేయతగా ప్రమాణం కూడా చేశాడు. తన ప్రాణ మిత్రుడైన ఐన్స్టీన్ జర్మనీని వ్యతిరేకించడాన్ని తప్పని మందలించాడు. ‘వ్యవస్థ లోపల ఉండి మార్పు తేవడం’ దేశభక్తుల కర్తవ్యం అన్నట్లు ప్రవర్తించాడు.
అర్ధాంతరంగా ముగిసిన మాథిల్డె హెర్ట్జ్ పరిశోధన
హెన్రిచ్ హెర్ట్జ్ మరణించే సమయానికి అతని కుమార్తె మాథిల్డె (Mathilde Hertz, 1891 – 1975) వయసు కేవలం మూడేళ్ళే. తన తండ్రి అడుగుజాడల్లోనే నడిచిన ఆమె, జర్మనీలో ఒక గొప్ప జీవశాస్త్రవేత్తగా (Biologist) పేరు తెచ్చుకుంది. జంతువుల మనస్తత్వశాస్త్రంపై ఆమె చేసిన పరిశోధనలు ప్రపంచవ్యాప్త గుర్తింపు పొందాయి.
1933లో నాజీలు ‘సివిల్ సర్వీస్ పునరుద్ధరణ చట్టం’ ద్వారా యూదు సంతతికి చెందిన ప్రొఫెసర్లను తొలగించడం ప్రారంభించారు. హెన్రిచ్ హెర్ట్జ్ కుటుంబం అతని తండ్రి చిన్న వయసులోనే క్రైస్తవ మతానికి మారినా, అతని తల్లి పూర్వీకులు క్రైస్తవులే అయినా, నాజీలు ఆ కుటుంబాన్ని యూదులు గానే గుర్తించారు. బెర్లిన్ విశ్వవిద్యాలయంలో పనిచేస్తున్న మాథిల్డె తరపున మాక్స్ ప్లాంక్ స్వయంగా నిలబడ్డాడు. హెన్రిచ్ హెర్ట్జ్ వంటి గొప్ప శాస్త్రవేత్త కుమార్తెకు ఇలాంటి అవమానం జరగడం దేశ ప్రతిష్టకు మంచిది కాదని అతను అధికారులకు లేఖ రాశాడు. ప్లాంక్ విన్నపంతో ప్రభుత్వం ఆ ఉత్తర్వును వాయిదా వేసింది కానీ రద్దు చేయలేదు.
తన పరిశోధనలకు ప్రభుత్వం అడుగడుగునా అడ్డుతగులుతుందని గ్రహించి, 1836లో మాథిల్డె ఇంగ్లాండ్కు వలసపోయింది. కొన్నాళ్ళకి తల్లి, సోదరి కూడా చేరారు. అక్కడ కేంబ్రిడ్జ్ విశ్వవిద్యాలయంలో చేరినా, మాథిల్డె తన పరిశోధనలను కొనసాగించలేకపోయింది. తల్లి మరణం, అక్క అనారోగ్యం ఆమె జీవితాన్ని దుర్భరం చేశాయి. తన తండ్రి పేరును ప్రపంచం మొత్తం స్మరించుకుంటున్న వేళ, ఆమె మాత్రం ఇంగ్లాండ్లో పేదరికంలో మగ్గుతూ తన 84వ ఏట 1975లో మరణించింది.
ఒక ముగింపు … ఒక ఆరంభం
హెర్ట్జ్ 1888లో తన ప్రయోగాల ఫలితాలని ప్రచురించి, “ఈ తరంగాల వలన ఎలాంటి ఉపయోగమూ లేదు, మాక్స్వెల్ సిద్ధాంతాన్ని రుజువు చెయ్యడానికి తప్ప,” అన్నాడు. తన పరిశోధన ప్రపంచాన్నే మార్చేస్తుందని ఆయన కలలో కూడా ఊహించలేదు.
1894లో హెర్ట్జ్ కన్నుమూసినప్పుడు, ఇటలీకి చెందిన ఒక ఇరవై ఏళ్ల యువకుడు పత్రికలో వచ్చిన హెర్ట్జ్ నివాళి వ్యాసాన్ని చదివి, “ఈ తరంగాలు తీగెలు లేకుండా ఒక గది నుండి పక్క గదికి గాలిలో ప్రయాణించగలిగితే, వీటి ద్వారా సమాచారాన్ని సుదూర ప్రాంతాలకి పంపలేమా?” అన్న ఆలోచనలో పడ్డాడు. ఆకథ వచ్చే నెలలో.
మూలాలు:
- A. C. Crombie. Helmholtz. Scientific American. March 1958.
- Philip and Emily Morrison. Heinrich Hertz. Scientific American. December 1957.
- David Cahan. Helmholtz: A Life in Science. The University of Chicago Press. 2018.
- Philip Ball. Serving the Reich: The Struggle for the Soul of Physics under Hitler. The University of Chicago Press. 2014.






