“ఓ గణిత సూత్రం కన్నా ఓ రేఖాచిత్రం విషయాన్ని మరింత స్పష్టం చేస్తుంది. కానీ గణితం లేకుండా ఖచ్చితమైన ఫలితాలను సాధించడం ఎవరికీ, చివరికి ఫారడేకి కూడా అసాధ్యం.” – ఆలివర్ హెవిసైడ్ (1893)
ఆధునిక సాంకేతిక ప్రపంచానికి మూలమైన విద్యుదయస్కాంత సిద్ధాంతాన్ని (Electromagnetic Theory) మాక్స్వెల్ 1865లో రాయల్ సొసైటీకి నివేదించాడు. 1879లో ఆయన కన్నుమూసే నాటికి ఆ సిద్ధాంతానికి శాస్త్రీయ రంగంలో పూర్తి మద్దతు లభించలేదు. అసలు ఆయన రాసిన ఉద్గ్రంథాన్ని (“A Treatise on Electricity and Magnetism”) అర్థం చేసుకున్నవారే బహు తక్కువ. ఇప్పటికీ మాక్స్వెల్ ‘మాగ్నమ్ ఓపస్’ శాస్త్రవేత్తలకు అంత సులభంగా అర్థం కాదు. గత వ్యాసంలో ఆ సిద్ధాంతాన్ని నాలుగు చక్కని సమీకరణాల రూపంలో చూశాం. వాస్తవానికి మాక్స్వెల్ రచనలో ఉన్నవి నాలుగు కాదు, ఇరవై సమీకరణాలు. మాక్స్వెల్ తన సిద్ధాంతాన్ని గణితపరంగా రుజువు చేసినప్పటికీ, కొత్తగా నెలకొల్పిన కేవిండిష్ లేబొరేటరీని అభివృద్ధి చేయడంలో నిమగ్నం కావడం వలనా, అనారోగ్యంతో అర్ధాంతరంగా చనిపోవడానా, తన సిద్ధాంతాన్ని ప్రయోగపూర్వకంగా నిరూపించలేకపోయాడు.
మాక్స్వెల్ సిద్ధాంతాన్ని నమ్మి, దానిని గణితపరంగా సులభతరం చేయడమే కాకుండా, ప్రయోగపూర్వకంగా నిరూపించి, టెలిగ్రాఫ్, టెలిఫోన్ టెక్నాలజీల వృద్ధికి వాడి, రేడియో ఆవిష్కరణకు మార్గాన్ని సుగమం చేసి, ‘మాక్స్వెలియన్లు’ గా పేరొందిన వారిలో ముగ్గురి గురించి ఈ వ్యాసంలో తెలుసుకుందాం.
వారిలో ముఖ్యుడు ఆలివర్ హెవిసైడ్ (Oliver Heaviside, 1850 – 1925). మాక్స్వెల్ అమిత సౌమ్యుడైతే, హెవిసైడ్ మాత్రం మొండి, అహంకారి… ఇలాంటి అనేక కరుకు విశేషణాలకు అర్హుడు. ఆయనకున్న కొద్దిమంది స్నేహితులలో ఒకరు, హెవిసైడ్ను “చాలా విభిన్నమైన వ్యక్తి ” (first-rate oddity) అని అభివర్ణించాడు.
ఆలివర్ హెవిసైడ్
థామస్, రేచెల్ దంపతులకు కలిగిన నలుగురు కుమారులలో చివరివాడైన ఆలివర్, మే 18, 1850న లండన్లో పుట్టాడు. తండ్రి థామస్ కొయ్యపై బొమ్మలు చెక్కే (wood engraving) కళాకారుడు. ప్రఖ్యాత రచయిత ఛార్లెస్ డికెన్స్ రాసిన ‘ది పిక్విక్ పేపర్స్’ (The Pickwick Papers) సీరియల్గా వస్తున్నప్పుడు, దానికి బొమ్మలు వేసింది ఆయనే. కాలక్రమేణా ఫోటోగ్రఫీ అభివృద్ధి చెందడంతో ఆ వృత్తికి గిరాకీ తగ్గిపోయి, థామస్ ఆదాయం పడిపోయింది. దీనికి తోడు ఆయన అనారోగ్యం పాలయ్యాడు. కుటుంబ పోషణ కష్టమవడంతో, రేచెల్ తన ఇంట్లోనే ఒక చిన్న బడి పెట్టి కుటుంబాన్ని ఆదుకుంది. తన అశక్తతపై తనకే కలిగిన ఆవేదనతో థామస్ ఇంట్లో ఎప్పుడూ చిర్రుబుర్రులాడుతూ ఉండేవాడు. ఫలితంగా ఆలివర్ బాల్యం ఎంతో విషాదకరంగా, అశాంతిగా సాగింది.
ఆలివర్ చదువులో రాణించినప్పటికీ, కొన్ని విషయాల పట్ల విపరీతమైన అయిష్టత పెంచుకున్నాడు. వాటిలో ముఖ్యమైనది రేఖాగణితం (Geometry). ఏ సిద్ధాంతాన్నైనా సరే, క్రమపద్ధతిలో రుజువు చేయడమంటే ఆయనకు పరమ అసహ్యం. అందుకే, తర్వాతి కాలంలో గణితశాస్త్రంలో ఆయన ప్రాముఖ్యత పెరిగినప్పటికీ, సాంప్రదాయ గణితవేత్తలు కోరే నిర్దిష్టమైన రుజువులని (Rigorous proofs) చూపక పోవడంతో వారి విమర్శలకు, నిర్లక్ష్యానికి గురి అయ్యాడు.
అప్పట్లో లండన్ నగరం అనేక అంటురోగాలకు నిలయంగా ఉండేది. దురదృష్టవశాత్తూ ఆలివర్ ఎర్రమచ్చల జ్వరం (scarlet fever) బారిన పడ్డాడు. ఆ మహమ్మారి నుండి ప్రాణాలతో బయటపడినప్పటికీ, అది ఆయనకు జీవితాంతం కోలుకోలేని వినికిడి లోపాన్ని మిగిల్చింది. పాక్షికంగా చెవుడు రావడంతో ఇతర పిల్లలతో కలిసి ఆటపాటల్లో పాల్గొనలేక, క్రమంగా ఒంటరివాడైపోయాడు. ఈ ఏకాంతమే అతనికి ఇంటా బయటా ‘మొండివాడు’ అనే పేరు స్థిరపడేలా చేసింది.
‘విద్యుదయస్కాంత సిద్ధాంతం’ (Electromagnetic Theory) అనే ఉద్గ్రంథ ప్రారంభంలో హెవిసైడ్ తన బాల్యం గురించి ఇలా రాసుకున్నాడు: “ఇది నిజంగా జరిగిన కథ. అనగనగా ఒక చిన్న అబ్బాయి ఉండేవాడు. వాడి తండ్రి ఎప్పుడూ, ‘మిగిలిన పిల్లల్లా ఉండడం నేర్చుకో; అలా ముఖం చిట్లించుకోకు,’ అని మందలించేవాడు. ఎంత ప్రయత్నించినా ఆ పిల్లవాడికి అది సాధ్యపడలేదు. దాంతో తండ్రి వాడిని చితకబాదేవాడు. చివరకు ఆ అబ్బాయిని సింహాలు తినేశాయి.” ఇక్కడ ‘సింహాలు’ అంటే తాను పెద్దయిన తర్వాత, తన పరిశోధనలను అర్థం చేసుకోకుండా తిరస్కరించిన అహంకారపూరిత గణితవేత్తలు.
అలాంటి ఆర్థిక పరిస్థితుల్లో ఆలివర్ పైచదువులకు వెళ్లే అవకాశం లేదు. ఏదో ఒక ఉద్యోగం సంపాదించాలి. అదృష్టవశాత్తూ ఓ పేరున్న బంధువు ఆదుకున్నాడు. ఆలివర్ పెద్దతల్లి, ప్రఖ్యాత శాస్త్రవేత్త ఛార్లెస్ వీట్స్టోన్ (Charles Wheatstone, 1802 – 1875) ఇంట్లో వంటమనిషిగా పనిచేస్తూ, ఆయనను ప్రేమించి వివాహం చేసుకుంది. వీట్స్టోన్ టెలిగ్రాఫ్ రంగంలో దిగ్గజం. తనకున్న పరపతితో ఆలివర్ సోదరులకి టెలిగ్రాఫ్ ఆపరేటర్లుగా ఉద్యోగాలు ఇప్పించాడు. అలా ఆలివర్ తన 18వ ఏట (1868లో) ఇల్లు వదిలి, డెన్మార్క్లో కొత్తగా పెట్టిన డేనిష్-నార్వీజియన్-ఇంగ్లీష్ టెలిగ్రాఫ్ కంపెనీలో ఆపరేటర్గా చేరాడు.
టెలిగ్రాఫర్గా హెవిసైడ్
ఫారడే ప్రయోగాల తర్వాత టెలిగ్రాఫ్ వ్యవస్థ ఎలా వృద్ధి చెందిందో ఇంతకు ముందు వ్యాసాలలో వివరించాను. అట్లాంటిక్ కేబుల్ నిర్మాణం అప్పట్లో ఒక అద్భుతమైన ఇంజనీరింగ్ విన్యాసం (Engineering feat). భారత స్వాతంత్ర్య పోరాటంలో కూడా టెలిగ్రాఫ్ పాత్ర మరువలేనిది. ఒక బ్రిటిష్ అధికారి, ‘టెలిగ్రాఫ్ తీగెలే మమ్మల్ని రక్షించాయి’ అని పేర్కొంటే, ఒక భారతీయ విప్లవకారుడు, ‘ఆ తీగెలే మా గొంతులకి ఉరితాళ్ళు అయాయి’ అని ఆవేదన వ్యక్తం చేశాడు.
రిటైర్డ్ మేజర్ జనరల్ వి.కె. సింగ్ ఒక వ్యాసంలో ఇలా విశ్లేషించాడు: “డల్హౌసీకి ముందుచూపు లేకపోతే, ఆ కాలంలో టెలిగ్రాఫ్ భారతదేశానికి వచ్చేది కాదు. ఒకవేళ సిపాయిల తిరుగుబాటు మరో పది సంవత్సరాల ముందే జరిగి ఉంటే, ఈ విద్యుత్ టెలిగ్రాఫ్ సాయం లేకుండా బ్రిటిష్ వారు ఆ విప్లవాన్ని అణచివేయగలిగేవారు కాదు. దురదృష్టవశాత్తూ తిరుగుబాటుదారులు టెలిగ్రాఫ్ ప్రాముఖ్యతను పూర్తిగా గుర్తించలేకపోయారు. వారు దాని విలువను గ్రహించి ఉంటే, మీరట్, కాన్పూర్, లక్నో ప్రాంతాలలో చేసినట్లే దేశవ్యాప్తంగా టెలిగ్రాఫ్ తీగెలను తెంపివేసి, మొత్తం సమాచార వ్యవస్థను నిర్వీర్యం చేసేవారు.”
హెవిసైడ్ వృత్తిపరంగా రాణించడానికి ఆయన వినికిడి లోపం అడ్డంకి కాలేదు. ఎందుకంటే, అప్పటికే టెలిగ్రాఫ్ సిగ్నల్స్ను శబ్ద రూపంలో కాకుండా, చుక్కలు-గీతల మోర్స్ కోడ్ రూపంలో కాగితంపై ముద్రించే యంత్రాలు అందుబాటులోకి వచ్చాయి. అయితే, ఆ సమయంలో రెండు వింతైన సమస్యలు ఇంజనీర్లను వేధించేవి, వాటికి ఎవరి దగ్గరా పరిష్కారం లేదు:
- ఆంగ్లో-డెన్మార్క్ మార్గంలో సిగ్నల్స్ను పశ్చిమం వైపు కంటే తూర్పు వైపునకే ఎక్కువ వేగంతో పంపడం సాధ్యమయ్యేది.
- మరీ విచిత్రంగా, ఎప్పుడైనా కేబుల్ పాడై లీక్ ఏర్పడితే, సిగ్నల్ స్పష్టత తగ్గడానికి బదులు పెరిగేది.
డెన్మార్క్లో రెండేళ్ళు పనిచేసిన తర్వాత హెవిసైడ్ ప్రమోషన్ సంపాదించి, ఇంగ్లాండులోని న్యూకాజిల్ (Newcastle) చేరుకున్నాడు. అక్కడ తన అన్న ఆర్థర్ ఇంట్లోనే ఉంటూ పనిచేసేవాడు. ఆర్థర్ కూడా టెలిగ్రాఫ్ ఆపరేటర్గా ఉంటూ, ఆలివర్ పరిశోధనలకు చేదోడువాదోడుగా ఉండేవాడు.
దూర ప్రాంతాలకు వేసిన టెలిగ్రాఫ్ తీగెలతో కొన్ని క్లిష్టమైన సమస్యలు ఎదురయ్యేవి; ముఖ్యంగా సముద్ర గర్భంలో వేసిన కేబుల్ తీగెలతో (Submarine cables) ఈ ఇబ్బందులు మరీ ఎక్కువ. తీగె చుట్టూ ఉన్న రక్షణ కవచం (Insulation) పాడై నీరు లోపలికి చేరినప్పుడు, విద్యుత్తు గమ్యం చేరకముందే మధ్యలోనే నీటిలోకి లీక్ అయిపోయేది (దీనినే ‘Earthing’ లేదా ‘Leakage’ అంటారు). వందల మైళ్ల పొడవున్న ఆ కేబుల్లో లోపం సరిగ్గా ఎక్కడ ఉందో కనిపెట్టడం అప్పట్లో ఒక పెద్ద సవాలుగా ఉండేది.
కేబుల్లో లోపాన్ని గుర్తించడానికి హెవిసైడ్ ఒక వినూత్నమైన పద్ధతిని కనిపెట్టాడు. మొదట, కేబుల్ అవతలి చివరను దేనికీ కలపకుండా (అంటే విద్యుత్తు ప్రవాహం కేవలం లోపం ఉన్న చోట మాత్రమే లీక్ అయ్యేలా) చేసి, సర్క్యూట్ లో నిరోధకతను (Resistance) కొలిచాడు. తర్వాత, కేబుల్ అవతలి చివరను నేరుగా సముద్రానికి కలిపి నిరోధకతను లెక్కించాడు. కేబుల్ ఏ లోపమూ లేకుండా ఉన్నప్పుడు ఉండాల్సిన సాధారణ నిరోధకత ఎంతో ముందే తెలుసు.
ఈ మూడు కొలతలను ఉపయోగించి, ఒక చివర నుండి లీక్ అవుతున్న చోటు వరకు ఉన్న నిరోధకతను గణితం ద్వారా లెక్కగట్టాడు. తీగె యొక్క నిరోధకత దాని పొడవుకు అనులోమానుపాతంలో ఉంటుందని తెలుసు. ఈ సూత్రం ఆధారంగా, ఆ నిరోధకత విలువను బట్టి కేబుల్లో లోపం సరిగ్గా ఎన్ని మైళ్ల దూరంలో ఉందో ఆయన కచ్చితంగా చెప్పగలిగాడు.
అంతేకాక, కేబుల్లో తలెత్తే ఇతర లోపాలను, ముఖ్యంగా అసలు తీగె ఎక్కడ తెగిపోయిందో (Cable Break) కూడా కచ్చితంగా గుర్తించే మార్గాన్ని కనుగొన్నాడు. ఇలా తన మేధస్సుతో అసాధ్యమైన సాంకేతిక సమస్యలను పరిష్కరిస్తూ, అతి తక్కువ కాలంలోనే ఒక మేటి సాంకేతిక నిపుణుడిగా గుర్తింపు పొందాడు.
హెవిసైడ్ న్యూకాజిల్ వచ్చాక లైబ్రరీకి వెళ్లి పుస్తకాలు చదవడం మొదలుపెట్టాడు. కార్లైల్, డికెన్స్ పుస్తకాలంటే అతనికి ప్రాణం. వాటితో పాటు కొన్ని కలన గణిత (Calculus) పుస్తకాలు కూడా చదివాడు. ఒకరోజు లైబ్రరీలో కొత్తగా వెలువడిన మాక్స్వెల్ ఉద్గ్రంథం ‘Treatise on Electricity and Magnetism (1873)’ కనిపించింది. అప్పటిదాకా విద్యుత్తు గురించి ఇంత సమగ్రమైన సిద్ధాంతం మరెక్కడా లేదు. హెవిసైడ్ ఆ పుస్తకాన్ని మొదట, చివర, మధ్యలో అక్కడక్కడా చదివి చూశాడు. అది ఒక మహత్తరమైన పుస్తకమని (“great, greater and greatest”), దానితో అనేక అద్భుతాలు సాధించవచ్చని గ్రహించి, దాని అధ్యయనానికి పూనుకున్నాడు.
ఉద్యోగానికి స్వస్తి – ఒంటరి జీవితం
హెవిసైడ్, జాన్ టిండాల్ (John Tyndall, 1820 -1893) ఉపన్యాసాలతో అమితంగా ప్రభావితమయ్యాడు. ఫారడే తర్వాత రాయల్ ఇన్స్టిట్యూషన్కు డైరెక్టరైన టిండాల్, సైన్స్పై పరిశోధనలే కాకుండా జనరంజకమైన ఉపన్యాసాలు ఇవ్వడం, పుస్తకాలు రాయడంలో విశేష కృషి చేశాడు. అప్పట్లో మాక్స్వెల్ వంటి శాస్త్రవేత్తలు సైన్స్ను దైవలీలగా భావిస్తూ, తమ పరిశోధనలను దైవ చింతనతో ముడిపెట్టేవారు.
టిండాల్ దీనికి భిన్నంగా, ప్రకృతిలోని ప్రతి రహస్యాన్ని కేవలం భౌతిక నియమాలతోనే వివరించవచ్చని, సైన్స్లో మతానికీ ఆధ్యాత్మికతకూ తావులేదని బలంగా వాదించాడు. థామస్ హక్స్లీతో (Thomas Huxley, 1825 – 1895) కలిసి డార్విన్ పరిణామ సిద్ధాంతాన్ని బలపరిచాడు. దీనిని టిండాల్ ‘శాస్త్రీయ భౌతికవాదం’ (Scientific Materialism) అని పిలిచేవాడు. స్వతంత్ర భావాలు కలిగిన హెవిసైడ్కు విజ్ఞాన శాస్త్రాన్ని మతం నుండి పూర్తిగా వేరు చేయాలనే టిండాల్ ఖచ్చితమైన వైఖరి బాగా నచ్చింది.
టెలిగ్రాఫ్ వ్యవస్థ విస్తరించే కొద్దీ హెవిసైడ్కు పని భారం పెరిగింది, కానీ అది క్రమంగా యాంత్రికం అయిపోయింది. అయినా అప్పుడప్పుడు ఎదురయ్యే సమస్యలను సృజనాత్మకంగా పరిష్కరించే అవకాశం వస్తే ఎంతో ఉత్సాహంతో పనిచేసేవాడు. ముఖ్యంగా వానాకాలంలో సందేశాలు సరిగా వెళ్లేవి కావు. వర్షం వల్ల తీగెలు తడిసి విద్యుత్తు భూమిలోకి లీక్ అవ్వడం వల్ల (Earthing) సంకేతాలు బలహీనపడేవి. ఇలాంటి సాంకేతిక సవాళ్లు అతడిని ఆలోచింపజేసేవి.
హెవిసైడ్ అంతిమంగా తన జీవితాన్ని సైన్స్కే అంకితం చేయాలని నిర్ణయించుకున్నాడు. కానీ ఉద్యోగంలో ఉంటే అది సాధ్యం కాదని తెలుసు. పాతికేళ్లయినా నిండని యవ్వనంలో, మంచి జీతమున్న ఉద్యోగం చేస్తూ, తల్లిదండ్రులను ఆదుకోవడానికి బదులు, అనూహ్యంగా హఠాత్తుగా ఉద్యోగం వదిలి 1874లో ఇంటికి చేరాడు. తను ఎదుర్కోబోయే పేదరికం గురించి ఏమాత్రం ఆలోచించలేదు. తాను చేసే విజ్ఞాన శాస్త్ర సేవకు ప్రతిఫలంగా కుటుంబమో, సమాజమో తనను పోషించడం వారి ధర్మమని భావించాడు. అప్పటినుండి ఇక అతనికి నిలకడైన ఆదాయం లేదు.
వ్యాపార వారపత్రికలో సైన్సు వ్యాసాలు
దాదాపు ఎనిమిదేళ్ల పాటు ఏకాంతంలో మాక్స్వెల్ సిద్ధాంతాన్ని నిశితంగా అధ్యయనం చేసిన హెవిసైడ్, 1882 నుండి ‘ది ఎలక్ట్రీషియన్’ (The Electrician) అనే పత్రికలో తన పరిశోధనలను వ్యాసాల రూపంలో ప్రచురించడం ప్రారంభించాడు..
అతని వ్యాసాలు పదునైన వ్యంగ్యంతో నిండి ఉండేవి. అధికారులని, ముఖ్యంగా చర్చి పెత్తనాన్ని తీవ్రంగా విమర్శించేవాడు. అందుకు ఒక చక్కని ఉదాహరణ—విద్యుత్ శాస్త్రంలోనే అత్యంత ముఖ్యమైన, అతి సులభమైన సూత్రం ‘ఓమ్ సూత్రం’ (Ohm’s Law). దాని ప్రకారం, విద్యుత్ వలయంలోని రెండు బిందువుల మధ్య ఉండే వోల్టేజ్ (V), ఆ తీగెలోని విద్యుత్తుకి (I), అనులోమానుపాతంలో ఉంటుంది: V = IR. దాని గురించి ఒక వ్యాసంలో ఇలా రాశాడు:
“విద్యుత్ ప్రయోజనాలు విస్తృతమై వాణిజ్య విలువ పెరగడం వల్ల ఓమ్ సూత్రం ఎంతో ప్రాముఖ్యతను సంతరించుకుంది. గత కొన్ని సంవత్సరాలుగా ఎలక్ట్రిక్ లైట్లు, ఇతర పరికరాల వాడకం పెరగడం వల్ల దీని ఉపయోగం కూడా విపరీతంగా పెరిగింది. ఒక టెలిగ్రాఫర్ ఓమ్ సూత్రాన్ని రోజుకు ఒకసారి ఉపయోగిస్తే, ఎలక్ట్రీషియన్ దానిని రోజుకు ఇరవై సార్లు ఉపయోగిస్తున్నాడు. ఒకవేళ నిరోధకత (Resistance) స్థిరంగా ఉండకపోతే, పాపం ఆ ఎలక్ట్రీషియన్ పని ఎంత కష్టమయ్యేది? పని భారం పెరిగి అతని ఆయుస్సు క్షీణించేది. మరి ఓమ్ సూత్రం ఇంత అద్భుతంగా పనిచేస్తుందంటే అది దైవ సంకల్పమే కదా? మానవుని అవసరాలకు అనుగుణంగా దైవమే నిరోధకతను స్థిరంగా ఉంచాడనడంలో ఎవరికైనా సందేహం ఉందా? దీనిని ఎవరు వ్యతిరేకిస్తారు? మనకు వారసత్వంగా ప్రాప్తించిన విశ్వాసాలను కించపరుస్తూ, సృష్టిలో సృష్టికర్తకే స్థానం ఇవ్వని కీడుచేసే మాసపత్రిక రాతగాళ్లు తప్ప.”
గణిత శాస్త్రజ్ఞులు కూడా అతని చెణుకుల నుండి తప్పించుకోలేకపోయారు. హెవిసైడ్ ‘ఆపరేషనల్ కాలిక్యులస్’ (Operational Calculus) అనే ఒక వినూత్న గణిత పద్ధతిని కనిపెట్టాడు. అయితే, దీనికి తగిన గణిత నిరూపణలు (Rigorous proofs) లేవన్న నెపంతో అప్పటి సంప్రదాయ గణిత శాస్త్రజ్ఞులు అతని పరిశోధనా పత్రాలను తిరస్కరించారు. దానికి సమాధానంగా హెవిసైడ్, “అయితే ఏంటి? అన్నం ఎలా జీర్ణమవుతుందో తెలియదని తినడం మానేస్తానా?” అని చమత్కరించాడు. ఫలితం కళ్ళముందు స్పష్టంగా కనిపిస్తున్నప్పుడు, అది ఎలా సాధ్యమైందో సిద్ధాంతపరంగా వివరించలేకపోవడం ఆ పద్ధతి తప్పు అనిపించుకోదని అతని వాదన. అతడు నమ్మినట్టే, ఆ తర్వాతి కాలంలో ఇంజనీర్లు అతని పద్ధతులనే అత్యంత ప్రామాణికంగా స్వీకరించారు.
హెవిసైడ్ మాక్స్వెల్ విద్యుదయస్కాంత సిద్ధాంతాన్ని లోతుగా అధ్యయనం చేసే కొలదీ దానిని సరళీకరించసాగాడు. అదంతా ఒకేసారి పూర్తిస్థాయిలో రూపుదిద్దుకోలేదు. 1884 నుండి 1887 వరకు రాసిన వ్యాసాల పరంపరలో ఈ సరళీకరణ క్రమంగా చోటుచేసుకుంది. ఆ వ్యాసాలలో హెవిసైడ్, మాక్స్వెల్ ఉపయోగించిన యాంత్రిక ఉపమానాలను తొలగించి, విద్యుత్, అయస్కాంత క్షేత్రాలను నేరుగా స్థల-కాల (space-time) పరిమాణాల్లో పనిచేసే భౌతిక రాశులుగా ప్రతిపాదించాడు.
అంతేకాక, వెక్టర్ (Vector) పద్ధతులను ప్రవేశపెట్టి, డైవర్జెన్స్ (Divergence), కర్ల్ (Curl) వంటి ఆపరేటర్లను ఇంజనీర్లకు అర్థమయ్యే రీతిలో ఉపయోగించాడు. ఈ విధంగా మాక్స్వెల్ సిద్ధాంతాన్ని ప్రయోగాత్మకంగా, ఆపరేషనల్గా మార్చిన హెవిసైడ్ ప్రయత్నాలు మొదట ‘ది ఎలక్ట్రీషియన్’ లోనే వెలువడ్డాయి. ఆ తర్వాతే, విడివిడిగా అభివృద్ధి చేసిన ఈ ఆలోచనలన్నీ అతడి గ్రంథమైన ‘ఎలక్ట్రోమాగ్నెటిక్ థియరీ’ (Electromagnetic Theory) లో సమీకృతమయ్యాయి. నేడు మనం ‘మాక్స్వెల్ సమీకరణాలు’ అని పిలిచే చక్కని నాలుగు సమీకరణాల రూపం నిజానికి హెవిసైడ్ కృషియే.
తీగె కన్నా దాని చుట్టూ ఉన్న ‘క్షేత్రం’ ముఖ్యం
మాక్స్వెల్ సిద్ధాంతాన్ని విశ్లేషించిన హెవిసైడ్ ఒక విప్లవాత్మకమైన విషయాన్ని చెప్పాడు. అప్పటివరకు విద్యుత్ అంటే తీగె లోపల ప్రవహించే ఒక ద్రవం వంటిదని భావించేవారు. కానీ, విద్యుత్ శక్తి అసలు తీగె లోపల ప్రవహించదని హెవిసైడ్ నిరూపించాడు. శక్తి అంతా తీగె చుట్టూ ఉన్న ఇన్సులేషన్ లేదా ఖాళీ ప్రదేశంలో విద్యుదయస్కాంత తరంగాల రూపంలో ప్రయాణిస్తుందని ఆయన వాదించాడు. ఈ భావనను వివరించడానికి అతడు “చీకటి కాంతి కిరణాలు” (Beams of Dark Light) అనే ఆసక్తికరమైన పదాన్ని ఉపయోగించాడు. దీనిలోని ముఖ్యాంశాలు ఇవి:
1. విద్యుదయస్కాంత శక్తిని దారి మళ్లించడం (Guiding the Energy):
టెలిగ్రాఫ్ తరంగాలు కంటికి కనిపించవు కాబట్టి వాటిని అతడు ఒక రకమైన “చీకటి కాంతి”గా పిలిచాడు. సాధారణ కాంతి కిరణాలు గాలిలో అన్ని వైపులా ఎలా ప్రయాణిస్తాయో, టెలిగ్రాఫ్ సంకేతాలు కూడా అవే ధర్మాలను కలిగి ఉంటాయని అతడు గుర్తించాడు. టెలిగ్రాఫ్ తీగెలు కేవలం విద్యుత్తును మోసుకెళ్లే వాహకాలు మాత్రమే కాదు; అవి కంటికి కనిపించని ఈ విద్యుదయస్కాంత కాంతి కిరణాలను ఒక నిర్దిష్ట మార్గంలో ప్రయాణించేలా చేసే ‘మార్గదర్శకాలు’ (Guides) అన్నాడు.
2. శక్తి ప్రవాహం తీగె చుట్టూ ఉన్న ఖాళీ ప్రదేశంలోనే:
హెవిసైడ్ ప్రకారం, మనం సిగ్నల్ పంపినప్పుడు ఆ శక్తి తీగె లోపల కాకుండా, తీగె చుట్టూ ఉన్న ఖాళీ ప్రదేశంలో లేదా ఇన్సులేషన్ (Dielectric) ద్వారా ప్రయాణిస్తుంది. తీగెలు కేవలం ఆ విద్యుదయస్కాంత క్షేత్రాన్ని పట్టుకుని ఉంచుతాయి. దీనిని అర్థం చేసుకోవడానికి ఒక ఉదాహరణ చెప్పాడు: ఒక పైపులో నీరు లోపల ఎలా వెళ్తుందో విద్యుత్ అలా వెళ్లదు. దానికి బదులు, తీగెలు ‘రైలు పట్టాల’ వలె పనిచేస్తాయి. పట్టాలు రైలును ఎలాగైతే ఒక దారిలో నడిపిస్తాయో, తీగెలు కూడా తమ చుట్టూ ఉన్న ఆ శక్తి కిరణాలను ఒక దిశలో నడిపిస్తాయి.
సిగ్నల్ చెదిరిపోవడమనే చిక్కుముడి (The Distortion Problem)
టెలిగ్రాఫ్ సందేశాలను కేబుల్ ద్వారా పంపేటప్పుడు ఎదురయ్యే అతిపెద్ద సమస్య ‘సిగ్నల్ అస్పష్టత’ (Distortion). ఒక విద్యుత్ పల్స్ కేబుల్లో ప్రయాణించే కొద్దీ అది సాగిపోయి (smearing), పక్కన ఉన్న పల్స్తో కలిసిపోయి సందేశం అర్థం కాకుండా తయారయ్యేది. టెలిఫోన్ రంగంలో ఈ సమస్య మరీ తీవ్రమైంది. ఈ చెదిరిపోవడం వల్ల అవతలి చివర అస్పష్టమైన శబ్దాలు వినిపించేవి. ఫలితంగా, అప్పట్లో వంద మైళ్ల కంటే ఎక్కువ దూరం టెలిఫోన్లో మాట్లాడటం అసాధ్యంగా ఉండేది.
కేబుల్లో ప్రయాణించే వివిధ ఫ్రీక్వెన్సీలు వేర్వేరు వేగంతో ప్రయాణించడం వల్లే ఈ అస్పష్టత ఏర్పడుతుందని హెవిసైడ్ తన గణితం ద్వారా కనుగొన్నాడు. ఒక పల్స్లోని ‘హై నోట్స్’ మరియు ‘లో నోట్స్’ వేర్వేరు సమయాల్లో గమ్యాన్ని చేరడం వల్ల సిగ్నల్ రూపురేఖలు మారిపోతున్నాయని ఆయన గుర్తించి, దీనిని నివారించడానికి ఒక విప్లవాత్మకమైన పరిష్కారాన్ని ప్రతిపాదించాడు.
కేబుల్లోని నిరోధకత (R), ఇండక్టెన్స్ (L), కండక్టెన్స్ (G), కెపాసిటెన్స్ (C) ల మధ్య ఒక నిర్దిష్టమైన నిష్పత్తితో, ఈ సమస్య తీరుతుందని నిరూపించాడు. దీనినే ‘హెవిసైడ్ నియమం’ (Heaviside Condition) అంటారు: (L/R = C/G).
సాధారణ కేబుల్స్లో కెపాసిటెన్స్ ఎక్కువగా, ఇండక్టెన్స్ చాలా తక్కువగా ఉంటుంది. పైన చెప్పిన నిష్పత్తిని సాధించాలంటే ఇండక్టెన్స్ విలువను పెంచాలని హెవిసైడ్ గుర్తించాడు. తీగె పొడవునా నిర్ణీత దూరాలలో భారీ ఇండక్టెన్స్ కాయిల్స్ (Loading Coils) ఏర్పాటు చేయడం ద్వారా ఈ నిష్పత్తిని సాధించవచ్చని ప్రతిపాదించాడు.
అప్పటి వరకు ఇండక్టెన్స్ విద్యుత్తుకి అడ్డంకి అని అందరూ భావించేవారు. కానీ ఇండక్టెన్స్ ను పెంచడం ద్వారా సిగ్నల్ స్పష్టతను పెంచవచ్చని హెవిసైడ్ నిరూపించాడు. వదులుగా ఉన్న సిల్కు దారానికి అక్కడక్కడ చిన్న బరువులు తగిలిస్తే అది ఎలాగైతే బిగుతుగా మారి తరంగాలను స్పష్టంగా పంపిస్తుందో, ఈ లోడింగ్ కాయిల్స్ కూడా టెలిఫోన్ లైన్లకు అలాగే జడత్వాన్ని (Inertia) ఇస్తాయని వివరించాడు. ఈ ఆవిష్కరణే లేకపోతే దూరప్రాంతాల మధ్య టెలిఫోన్ వ్యవస్థ సాధ్యమయేది కాదు.
ఈ పరిశోధనల ఆధారంగా హెవిసైడ్ తన అన్న ఆర్థర్తో కలిసి ఒక ముఖ్యమైన పరిశోధనా పత్రాన్ని రాశాడు. కానీ అప్పటి బ్రిటిష్ టెలిగ్రాఫ్ విభాగపు అధిపతి విలియం ప్రీస్ (Sir William Henry Preece, 1834 – 1913) దాని ప్రచురణకు అంగీకరించలేదు. ఎందుకంటే, ఆ పేపర్లోని అంశాలు ప్రీస్ పాతకాలపు ఆలోచనలకు విరుద్ధంగా ఉన్నాయి. దీంతో హెవిసైడ్ ఆగ్రహోదగ్రుడయ్యాడు; ప్రీస్కు అసలు శాస్త్రజ్ఞానమే లేదని బహిరంగంగా ఆరోపించాడు. విభేదాలు ముదరడంతో అతడి అన్న ఆర్థర్, తన ఉద్యోగానికి ముప్పు వస్తుందని, ఆ పరిశోధనా పత్రంపై తన పేరును ఉపసంహరించుకున్నాడు.
హెవిసైడ్ మాత్రం ప్రీస్ను విమర్శిస్తూ ‘ది ఎలక్ట్రీషియన్’ పత్రికకు ఒక వ్యాసం రాశాడు. ఆ పత్రిక కొత్త సంపాదకుడు దానిని తిప్పి పంపడమే కాక, అసలు హెవిసైడ్ రచనలనే నిలిపివేశాడు. దీనివల్ల అతడికి వచ్చే కొద్దిపాటి ఆదాయం ఆగిపోవడమే కాక, తన ఆలోచనలను ప్రపంచానికి చాటిచెప్పే ఏకైక మార్గం కూడా మూసుకుపోయింది. తీవ్రంగా భంగపడిన హెవిసైడ్, ఈ ఒంటరి పోరాటం వల్ల ప్రయోజనం లేదని గ్రహించి, పేరున్న ఇతర శాస్త్రవేత్తలతో సంబంధాలు పెంపొందించుకోవడానికి ప్రయత్నించాడు.
హెవిసైడ్ అసాధారణ ప్రతిభను మరో ఇద్దరు ప్రముఖ శాస్త్రవేత్తలు, జార్జ్ ఫిట్జ్గెరాల్డ్ (George FitzGerald, 1851 – 1901), ఆలివర్ లాడ్జ్ (Oliver Lodge, 1851 – 1940), గుర్తించారు. వీరిద్దరూ హెవిసైడ్ రాసిన సంక్లిష్టమైన గణితంలో దాగి ఉన్న సత్యాన్ని గ్రహించి, అతనికి బాసటగా నిలిచారు. వారు కూడా మాక్స్వెల్ సిద్ధాంతాన్ని బలంగా నమ్మే ‘మాక్స్వెలియన్లే’. విలియం ప్రీస్ వంటి అధికారులు హెవిసైడ్ పరిశోధనలను తృణీకరిస్తున్న సమయంలో, ఈ ఇద్దరు మేధావుల మద్దతు హెవిసైడ్కు కొండంత అండగా నిలిచింది.
హెవిసైడ్ ప్రతిపాదించిన ‘క్షేత్రాల సంకోచం’ సిద్ధాంతం ఫిట్జ్గెరాల్డ్ మెదడులో ఒక మెరుపును మెరిపించింది. అప్పట్లో భౌతికశాస్త్ర ప్రపంచాన్ని తీవ్ర గందరగోళానికి గురిచేస్తున్న ‘మైకెల్సన్-మోర్లీ ప్రయోగం’ వైఫల్యానికి ఇది ఒక అద్భుతమైన సమాధానంలా అతడికి కనిపించింది. అసలు ఆ ప్రయోగం ఏమిటి? శాస్త్రవేత్తలు దాని ద్వారా దేనిని వెతకాలనుకున్నారు?
విఫలమైన మైకెల్సన్-మోర్లీ ప్రఖ్యాత ప్రయోగం
కాంతి తరంగాల రూపంలో ఉంటుందని 19వ శతాబ్దంలో థామస్ యంగ్ రుజువు చేసిన తర్వాత, శాస్త్రవేత్తలు దానిని శబ్ద తరంగాలతో పోల్చడం మొదలెట్టారు. శబ్దం ప్రయాణించడానికి గాలి వంటి మాధ్యమం అవసరమైనట్లే, కాంతి ప్రయాణానికి కూడా ఏదో ఒక మాధ్యమం ఉండాలని వారు భావించారు. వాస్తవానికి శబ్ద తరంగాలు మాధ్యమంలోని అణువుల కంపనాల వల్ల ఏర్పడేవే.
కానీ కాంతి శూన్యంలో కూడా ప్రయాణిస్తుంది. కాబట్టి, ఈ విశ్వమంతా నిండి ఉండి, కాంతి తరంగాలను మోసుకెళ్లే ఒక అదృశ్య మాధ్యమం ఉందని వారు నమ్మారు. దానికి ‘ఈథర్’ (Luminiferous Ether) అని పేరు పెట్టారు. అయితే, అసలు ఈథర్ అనేది ఒకటి ఉందా లేదా అని నిరూపించడం అప్పట్లో శాస్త్రవేత్తలకు ఒక పెద్ద సవాలుగా మారింది. దాని ఉనికిని కనిపెట్టడానికి చేసిన ప్రయత్నమే ప్రఖ్యాత మైకెల్సన్-మోర్లీ ప్రయోగం (Michelson-Morley experiment).
ధ్వని వేగం అది ప్రయాణించే మాధ్యమంపై ఆధారపడి ఉంటుంది. అదే తర్కంతో, భూమి ‘ఈథర్’ గుండా ప్రయాణిస్తున్నప్పుడు కాంతి వేగంలో కూడా మార్పులు రావాలని శాస్త్రవేత్తలు ఊహించారు. అంటే, భూమి ప్రయాణించే దిశలో కాంతి వేగం ఒకలా, దానికి లంబ దిశలో (Perpendicular) మరోలా ఉండాలని భావించారు. దీనినే ‘ఈథర్ గాలి’ (Ether wind) ప్రభావం అంటారు. ఈ మార్పును ప్రయోగపూర్వకంగా నిరూపించి, ఈథర్ ఉనికిని చాటాలని అమెరికన్ శాస్త్రవేత్తలు ఆల్బర్ట్ మైకెల్సన్ (Albert Michelson, 1852 – 1931), ఎడ్వర్డ్ మోర్లీ (Edward Morley, 1838 – 1923) సంకల్పించారు.
ఈప్రయోగాన్ని మైకెల్సన్ తన పిల్లలకిచ్చిన పజిల్ ద్వారా అర్థం చేసుకోవచ్చు:
ఒక నది వెడల్పు w (100 అడుగులు). ఇద్దరు ఈతగాళ్లు, వారిద్దరి వేగం c (సెకనుకు 5 అడుగులు). నది వేగం v (సెకనుకు 3 అడుగులు).
- మొదటి ఈతగాడు: నదికి సరిగ్గా అవతలి ఒడ్డున సూటిగా ఉన్న చోటుకి ఈదుకుంటూ వెళ్లి, మళ్లీ వెనక్కి తిరిగి వస్తాడు.
- రెండో ఈతగాడు: నది ఒడ్డు పక్కగా ఈదుతూ, నది వెడల్పుకు సమానమైన దూరం (అంటే 100 అడుగులు) ప్రవాహానికి ఎదురుగా (Upstream) వెళ్లి, మళ్లీ వెనక్కి ప్రారంభ స్థానానికి వస్తాడు.
వీరిద్దరిలో ఎవరు ముందుగా తిరిగి వస్తారు?
ముందుగా ప్రవాహానికి ఎదురుగా వెళ్లి వచ్చే రెండో ఈతగాడి గురించి ఆలోచిద్దాం:
ప్రవాహానికి ఎదురుగా 100 అడుగులు వెళ్లేటప్పుడు, నది ఒడ్డు నుండి చూస్తే అతని వేగం సెకనుకు కేవలం 2 అడుగులు మాత్రమే ఉంటుంది (c – v = 5 – 3 = 2). కాబట్టి, ఆ దూరం వెళ్లడానికి అతనికి 50 సెకన్లు పడుతుంది.
తిరిగి వచ్చేటప్పుడు (Downstream), ప్రవాహం అతనికి తోడవుతుంది కాబట్టి అతని వేగం సెకనుకు 8 అడుగులు అవుతుంది (c + v = 5 + 3 = 8). దీనివల్ల తిరిగి రావడానికి అతనికి 12.5 సెకన్లు పడుతుంది.
మొత్తం మీద ఇతనికి పట్టే సమయం: 50 + 12.5 = 62.5 సెకన్లు.
ప్రవాహానికి అడ్డంగా వెళ్లే మొదటి ఈతగాడి లెక్క కొంచెం క్లిష్టంగా ఉంటుంది. కేవలం అవతలి ఒడ్డును లక్ష్యంగా చేసుకుని నేరుగా ఈదడం వల్ల ప్రయోజనం ఉండదు—ఎందుకంటే నది ప్రవాహం అతడిని కిందకు కొట్టుకుపోయేలా చేస్తుంది. సరిగ్గా ఎదుటి చోటుకి చేరుకోవాలంటే, ఈతగాడు కొంత కోణంలో ప్రవాహానికి ఎదురుగా ఈదాలి.
అంటే, ఆ ఈతగాడు నదిలో సెకనుకు 5 అడుగుల వేగంతో ఒక కోణంలో ఈదుతుండగా, ప్రవాహం అతడిని సెకనుకు 3 అడుగుల వేగంతో కిందకు నెడుతుంది. ఆ కోణాన్ని సరిగ్గా ఎంచుకుంటే, అతను నేరుగా ఎదుటి ఒడ్డుకు చేరుకోగలుగుతాడు. అప్పుడు సెకనులో అతను నదికి అడ్డంగా నాలుగు అడుగులు కదులుతాడు. ఇక్కడ ఒక సెకనులో అతను ఈదే దూరాలు ఒక 3, 4, 5 లంబకోణ త్రిభుజాన్ని (right-angled triangle) ఏర్పరుస్తాయి. కాబట్టి, సెకనుకు 4 అడుగుల వేగంతో అతను 100 అడుగుల నదిని దాటడానికి 25 సెకన్లు తీసుకుంటాడు. తిరిగి రావడానికి కూడా మరో 25 సెకన్లు పడుతుంది. మొత్తం మీద ఇతనికి పట్టే సమయం 50 సెకన్లు.
దీనిని బట్టి ప్రవాహానికి అడ్డంగా వెళ్లే ఈతగాడే గెలుస్తాడని అర్థమవుతుంది. వారి ఈత వేగం (c) ఎంత ఉన్నా సరే, ఫలితం ఇలాగే ఉంటుంది. (అయితే, ఈ పందెం సాధ్యం కావాలంటే వారి ఈత వేగం ‘c’, నది ప్రవాహ వేగం ‘v’ కంటే ఎక్కువగా ఉండాలి).
మైకెల్సన్ యొక్క అద్భుతమైన ఆలోచన ఏమిటంటే, నది స్థానంలో ‘ఈథర్ గాలి’ని ఊహించుకుని, ఈతగాళ్ళ స్థానంలో కాంతితో అటువంటి పందాన్నే నిర్వహించడం. ఈ ప్రయోగ నమూనా:
ఒక కాంతి కిరణాన్ని 45 డిగ్రీల కోణంలో ఉన్న ‘సగం వెండి పూత పూసిన’ (అంటే పాక్షిక పారదర్శకత కలిగిన) అద్దంపై పడేలా చేస్తాడు. దీనివల్ల ఆ కిరణంలో ఒక సగం దూసుకుపోగా, మరో సగం ప్రతిబింబిస్తుంది. ఈ రెండు సగభాగాలు ఇద్దరు ఈతగాళ్ల వంటివి. ఈ రెండూ కూడా దూరంగా అమర్చిన అద్దాలను తాకి, తిరిగి మళ్ళీ అదే పాక్షిక పారదర్శక అద్దం వద్దకు చేరుతాయి. ఇక్కడ అవి మళ్ళీ సగం ప్రతిబింబించి, సగం అవతలికి వెళ్తాయి. ఆ అద్దం వెనుక ఒక టెలిస్కోప్ను ఉంచుతారు, తద్వారా రెండు సగభాగాలలోని కొంత భాగం ఈ టెలిస్కోప్లోకి చేరుతుంది. ఇక్కడ ఆ రెండు కాంతి తరంగాలు ఒకదానితో ఒకటి కలిసి, టెలిస్కోప్లో వెలుగు-చీకటి చారల రూపంలో ఒక పటాన్ని (Interference Fringes) ఏర్పరుస్తాయి.
ఈథర్ గాలి వీస్తుంటే, టెలిస్కోప్ ద్వారా చూసే వ్యక్తికి ఆ రెండు కాంతి భాగాలు కొద్దిపాటి సమయ వ్యత్యాసంతో రావడం కనిపిస్తుంది. ఈ వ్యత్యాసం వల్ల టెలిస్కోప్లో కనిపించే ఆ కాంతి చారలు పక్కకు జరుగుతాయి (Fringe Shift). దీనిని బట్టి ఈథర్ గాలి వేగాన్ని లెక్కించవచ్చని మైకెల్సన్ భావించాడు. ఈ ప్రభావాన్ని గరిష్టంగా గమనించడం కోసం, దూరంగా ఉన్న అద్దాలతో సహా మొత్తం పరికరాన్ని ఒక పెద్ద తిరిగే పీఠం (Turntable) పై అమర్చాడు. తద్వారా దానిని ఏ దిశలోకైనా తిప్పడానికి వీలవుతుంది.
రెండు మార్గాల మధ్య ఉండే సమయ వ్యత్యాసాన్ని మరింత స్పష్టంగా చూడటం కోసం (magnify), అసలు ప్రయోగంలో కాంతిని అద్దాల మధ్య అనేకసార్లు అటు ఇటు ప్రతిబింబించేలా చేశారు. ఇది పందెంలో ఒకే దూరాన్ని పలుమార్లు చుట్టి వచ్చే విధానం వంటిది.
సెకనుకు కేవలం ఒకటి లేదా రెండు మైళ్ల వేగంతో ఈథర్ గాలి వీస్తున్నా, ఈ ప్రయోగం ద్వారా దాని ప్రభావాన్ని గుర్తించవచ్చని లెక్కగట్టారు. కాబట్టి, ఒకవేళ ఈథర్ గాలి వేగం, సూర్యుని చుట్టూ భూమి తిరిగే కక్ష్యా వేగంతో సమానంగా ఉంటే, దానిని సులభంగా గుర్తించవచ్చు.
కానీ, వాస్తవానికి అక్కడ కాంతి చారలు ఏమీ కనిపించలేదు. కాంతి అన్ని దిశలలోనూ ఒకే వేగంతో పయనించింది. ఇది శాస్త్రవేత్తలని గందరగోళంలో పడవేసింది.

ఈథర్ గాలి ప్రభావం వల్ల రెండు కాంతి తరంగాల మధ్య శాస్త్రవేత్తలు ఆశించిన సమయ వ్యత్యాసం
ఫిట్జ్గెరాల్డ్ సంకోచం: హెవిసైడ్ ఇచ్చిన క్లూ
తన గణిత విశ్లేషణ ద్వారా హెవిసైడ్ 1888లో ఒక ఆశ్చర్యకరమైన విషయాన్ని కనుగొన్నాడు. స్థిరమైన ఛార్జ్ చుట్టూ గోళాకారంలో ఉండే విద్యుత్ క్షేత్రం, విద్యుదయస్కాంత శక్తుల ప్రభావం వల్ల, ఛార్జ్ కదిలితే, క్షేత్రం ప్రయాణ దిశలో నొక్కివేయబడి ఎలిప్సోయిడ్ (Ellipsoid) ఆకారాన్ని పొందుతుందని నిరూపించాడు. ఎంతగా కుంచిస్తుందో ఈ ఫార్ములాలో చూపెట్టాడు (ఛార్జ్ వేగం v, కాంతి వేగం c):
$$\sqrt{1-\frac{v^2}{c^2}}$$
ఫిట్జ్గెరాల్డ్ ఆలోచన (1889): హెవిసైడ్ కనుగొన్న ఈ “క్షేత్రాల సంకోచం” సిద్ధాంతం గురించి తెలిసిన వెంటనే, ఫిట్జ్గెరాల్డ్కు ఒక కొత్త ఆలోచన వచ్చింది. ఛార్జ్ చుట్టూ ఉన్న క్షేత్రాలు సంకోచించినట్లే, వాటి కలయికతో తయారైన వస్తువులు కూడా సంకోచిస్తాయన్నాడు. ఆ క్షేత్రాల కలయికతో తయారైన భౌతిక వస్తువులు కూడా ప్రయాణ దిశలో సంకోచిస్తాయని ప్రతిపాదించాడు. అప్పటికి ఇంకా అణువులలో ఎలెక్ట్రాన్లు ఉన్నాయని కనుగొనలేదు. కాని వస్తువుల పరిమాణం అణువుల మధ్య ఉండే విద్యుదయస్కాంత బలాల మీద ఆధారపడి ఉంటుందని ఫిట్జ్గెరాల్డ్ నమ్మాడు. హెవిసైడ్ సిద్ధాంతం ప్రకారం ఆ బలాలు మారినప్పుడు, వస్తువు పొడవు మారడం అనేది ఒక సహజమైన భౌతిక చర్యగా ఆయన భావించాడు.
మైకెల్సన్-మోర్లీ ప్రయోగానికి పరిష్కారం: మైకెల్సన్-మోర్లీ ప్రయోగంలో ‘ఈథర్ గాలి’ కనుగొనబడకపోవడానికి గల కారణం ఇదేనని ఆయన ప్రతిపాదించాడు. వస్తువులు వేగంగా కదులుతున్నప్పుడు అవి ప్రయాణించే దిశలో కొద్దిగా సంకోచించడం వల్ల, కాంతి ప్రయాణించే దూరంలో మార్పు వస్తుందని, అందుకే ఫలితం “నల్” (Null) గా వచ్చిందని ఆయన వివరించాడు.
ప్రవాహానికి ఎదురుగా వెళ్లే ఈతగాడు (Longitudinal beam) తన వేగం తగ్గడం వల్ల వెనుకబడిపోవాలి. కానీ, విచిత్రంగా అతడు వెళ్లాల్సిన దూరం (Path length) కూడా సరిగ్గా పైన చెప్పిన నిష్పత్తిలోనే తగ్గిపోతుంది. దూరం తగ్గడం వల్ల, వేగం తక్కువగా ఉన్నప్పటికీ అతడు అడ్డంగా వెళ్లే ఈతగాడితో సమానంగా పందాన్ని ముగించగలిగాడు.
దీనివల్లనే మైకెల్సన్-మోర్లీ ప్రయోగంలో ఎటువంటి సమయ వ్యత్యాసం కనిపించలేదు. అంటే, ‘ఈథర్ గాలి’ వల్ల కలగాల్సిన జాప్యాన్ని, వస్తువు పొడవులో వచ్చిన సంకోచం (Length contraction) సరిగ్గా భర్తీ చేసింది.
ఇదే సమీకరణాన్ని ఈతగాళ్ళ పందెంలో వాడితే నది ప్రవాహం వెంబడి ఈదినవాడు ఈదే దూరం, 4/5 నిష్పత్తి (root(1-3**2/5**2) = root(16/25) = 4/5) కుదించడాన, 80 అడుగులే (100*4/5 = 80). కాబట్టి అతనికి కూడా 50 (10+40 = 50) సెకన్లే పడుతుంది.
ఈ అద్భుతమైన ఊహే 1905లో ఐన్స్టీన్ సాపేక్ష సిద్ధాంతానికి (Theory of Relativity) దారితీసింది. దురదృష్టవశాత్తూ ఫిట్జ్గెరాల్డ్ జీర్ణకోశ వ్యాధులతో బాధపడి, ఫిబ్రవరి 21, 1901న 49 ఏళ్ల వయసుకే మరణించాడు.
కృత్రిమ విదుదయస్కాంత తరంగాలు సాధ్యమా?
మాక్స్వెల్ సిద్ధాంతం ప్రకారం కాంతి ఒక విద్యుదయస్కాంత తరంగం. అయితే, అటువంటి తరంగాలను ప్రయోగశాలలో కృత్రిమంగా సృష్టించడం సాధ్యమేనా? అన్నది అప్పట్లో శాస్త్రవేత్తలను వేధిస్తున్న అతిపెద్ద ప్రశ్న.
మొదట్లో, ఫిట్జ్గెరాల్డ్ దీనిపై తీవ్రమైన సందేహాలు వ్యక్తం చేశాడు. విద్యుత్ పరికరాల ద్వారా రేడియో తరంగాల వంటి వాటిని సృష్టించడం “అసాధ్యం” అని 1870లలో ఆయన బలంగా నమ్మాడు. కానీ, 1882లో హెవిసైడ్ రాసిన విశ్లేషణలను చదివాక తన అభిప్రాయాన్ని మార్చుకున్నాడు.
విద్యుత్ ఛార్జ్ని అత్యంత వేగంగా అటు ఇటు ఊగిసలాడేలా (Oscillate) చేయగలిగితే, అది ఖచ్చితంగా విద్యుదయస్కాంత వికిరణాన్ని (Radiation) విడుదల చేస్తుందని ఆయన గణితపరంగా గుర్తించాడు. ‘లేడెన్ జాడీ’ (Leyden Jar – ఒక రకమైన కెపాసిటర్) ని వేగంగా డిశ్ఛార్జ్ చేయడం ద్వారా ఇటువంటి తరంగాలను సృష్టించవచ్చని ఆయన ప్రతిపాదించాడు. ఫిట్జ్గెరాల్డ్ సిద్ధాంతకర్తగా పేరున్నవాడే కాని ప్రయోగకర్తగా కాదు. ఆ ఆలోచనను ప్రయోగపూర్వకంగా నిరూపించమని తన ప్రాణస్నేహితుడైన ఆలివర్ లాడ్జ్ను ప్రోత్సహించాడు.
ఆలివర్ లాడ్జ్
ఆలివర్ లాడ్జ్ జూన్ 18, 1851న స్టాఫర్డ్షైర్లో పుట్టాడు. చిన్నప్పుడు అతడు చదివిన బడి చదువులో సైన్స్ అనేదే లేకపోవడంతో, ఆ రోజులను తన జీవితంలోనే అత్యంత నిరుత్సాహకరమైన రోజులుగా పేర్కొన్నాడు. 14 ఏళ్ల వయసుకే బడి వదిలేసి తండ్రి వ్యాపారంలో చేరాడు. పింగాణీ, మట్టి పాత్రలు తయారు చేసే ఫ్యాక్టరీలకు మట్టిని అమ్మడం వారి వ్యాపారం.
మట్టి అమ్మడం, డబ్బు వసూలు చేయడం వంటి పనులలో అతడికి ఏమాత్రం ఉత్సాహం లేకపోయినా, వాటి వలన కొంత డబ్బు చేకూరి, వ్యాపార దక్షత కూడా అలవడింది. అయితే, 16 ఏళ్ల వయసులో లండన్లోని తన పెద్దతల్లి ఇంటికి వెళ్లినప్పుడు అతడి జీవితం ఒక గొప్ప మలుపు తిరిగింది. ఆవిడ అతడిలోని జిజ్ఞాసను గుర్తించి, అతడిని చదువు దిశగా ఎంతో ప్రోత్సహించింది. ఆమె అండతోనే అతడు లండన్లో ఉంటూ రాయల్ ఇన్స్టిట్యూషన్లో సైన్స్ ఉపన్యాసాలు వినగలిగాడు. ఆ ఉపన్యాసాలే అతడి జీవిత లక్ష్యాన్ని మార్చేశాయి.
ఆ తర్వాత అతడు విపరీతంగా శ్రమించాడు. పగలు తండ్రి వ్యాపార పనులు చూస్తూనే, రాత్రుళ్లు క్లాసులకు వెళ్తూ, ఇంట్లోనే ఒక చిన్న ప్రయోగశాల ఏర్పాటు చేసుకుని ప్రయోగాలు చేసేవాడు. ఆ పట్టుదలతోనే స్వయంకృషితో ప్రవేశ పరీక్ష రాసి పాసయ్యాడు. అనంతరం లండన్లోని యూనివర్సిటీ కాలేజీలో చేరి, స్కాలర్షిప్ సహాయంతో తన ఉన్నత విద్యాభ్యాసాన్ని కొనసాగించాడు. అక్కడే ఫిజిక్స్, గణితంలో అసాధారణ ప్రతిభ కనబరిచి, 1877లో డాక్టరేట్ పూర్తి చేశాడు. ఆ విద్యా నైపుణ్యంతోనే 1881లో లివర్పూల్ యూనివర్సిటీలో ఫిజిక్స్ ప్రొఫెసర్గా చేరాడు.
లాడ్జ్ పరిశోధనలతో పాటు, క్లిష్టమైన శాస్త్రీయ అంశాలను సామాన్యులకు సైతం అర్థమయ్యేలా సరళంగా వివరించడంలో మేటి అనిపించుకున్నాడు. విజ్ఞాన శాస్త్రాన్ని జనరంజకం చేయడంలో అతడు చూపిన ప్రతిభ వల్ల దేశవ్యాప్తంగా అతడికి మంచి గుర్తింపు లభించింది. అతడి వాగ్ధాటి, ప్రయోగాలను ప్రదర్శించే శైలి చూసి జనం ముగ్ధులయ్యేవారు.
ఈ ఖ్యాతి వల్లే, రాయల్ సొసైటీ ఆఫ్ ఆర్ట్స్ (RSA) వారు “పిడుగుల నుండి రక్షణ” అనే అంశంపై ప్రసంగించవలసిందిగా 1888లో అతడిని ఆహ్వానించారు.
ఆర్ట్స్ సొసైటీలో పిడుగులపై ప్రసంగం
రాయల్ సొసైటీ ఆఫ్ ఆర్ట్స్ (RSA) గురించి ఒక ఆసక్తికరమైన విషయం ఏమిటంటే, సంస్థ పేరులో ‘ఆర్ట్స్’ అంటే కేవలం లలిత కళలు (Fine Arts) మాత్రమే కాదు. 1754లో ఈ సంస్థ స్థాపించబడినప్పుడు దీని పూర్తి పేరు “Society for the Encouragement of Arts, Manufactures and Commerce”. ఆ కాలంలో సైన్స్, టెక్నాలజీలను ‘ప్రాక్టికల్ ఆర్ట్స్’ గా పరిగణించేవారు. అందుకే సమాజానికి ఉపయోగపడే శాస్త్రీయ ఆవిష్కరణలపై ఇక్కడ తరచుగా ఉపన్యాసాలు, చర్చలు జరిగేవి.
అటువంటి ఒక సందర్భంలోనే రాబర్ట్ జేమ్స్ మాన్ (Robert James Mann) పేరు ముందుకు వచ్చింది. ఆయన అప్పట్లో పేరున్న వైద్యుడు మాత్రమే కాదు, రాయల్ సొసైటీ ఆఫ్ ఆర్ట్స్లో ముఖ్యమైన హోదాలో పనిచేశాడు. ఇంకా మంచి వాతావరణ శాస్త్రవేత్త కూడా. ఆయన మరణానంతరం, ఆయన జ్ఞాపకార్థం సమాజానికి ఉపయోగపడే అంశాలపై ప్రత్యేక ఉపన్యాసాల పరంపరను నిర్వహించడానికి ఆయన ఎస్టేట్ నిధులు సమకూర్చింది. ఆ వరుసలో మొదటి రెండు ఉపన్యాసాలు ఇవ్వవలసిందిగా సొసైటీ వారు ఆలివర్ లాడ్జ్ను కోరారు. రాబర్ట్ మాన్కు వాతావరణంపై ఉన్న ఆసక్తిని గౌరవిస్తూ, “పిడుగుల నుండి రక్షణ” అనే అంశాన్ని ఎంచుకున్నారు. ఆ వేదికపై లాడ్జ్ చేసిన ప్రసంగాలు అతడిని శాస్త్రీయ రంగంలో ఒక తిరుగులేని మేధావిగా నిలబెట్టాయి.
బెంజమిన్ ఫ్రాంక్లిన్ తన గాలిపటం ప్రయోగం ద్వారా లోహపు కడ్డీని ఉపయోగించి పిడుగుల బారి నుండి ఎలా రక్షించుకోవచ్చో నిరూపించాడని మనకు తెలుసు. కానీ, ఆ పద్ధతి అన్ని వేళలా సరిగ్గా పనిచేయలేదు. ఒక్కోసారి విద్యుత్తు ఆ కడ్డీ ద్వారా నేరుగా భూమిలోకి వెళ్లడానికి బదులు, మధ్యలోనే కడ్డీ నుండి పక్కకు మళ్లి దగ్గరలో ఉన్న ఇతర వస్తువులపైకి “దూకి” (Side-flash) తీవ్రమైన ప్రమాదాలకు దారితీసేది. కడ్డీ గుండా పోకుండా పిడుగు వేరే మార్గానికి ఎందుకు వెళ్ళింది?
తన ఉపన్యాసం కోసం సిద్ధమవుతూ, లాడ్జ్ ప్రయోగశాలలో కృత్రిమంగా ఒక పిడుగును సృష్టించడానికి ప్రయత్నించాడు. ఆకాశం నుండి పడే పిడుగు ఒక రకమైన భారీ విద్యుత్ విడుదల (Electric discharge) అని అతడికి తెలుసు. అందుకే ప్రయోగశాలలో పెద్ద ‘లేడెన్ జాడీల’ (Leyden jars) సహాయంతో అధిక మొత్తంలో విద్యుత్తును నిల్వ చేసి, వాటి మధ్య మెరుపులను (Sparks) సృష్టించడం ద్వారా పిడుగుల స్వభావాన్ని అధ్యయనం చేయడానికి పూనుకున్నాడు.
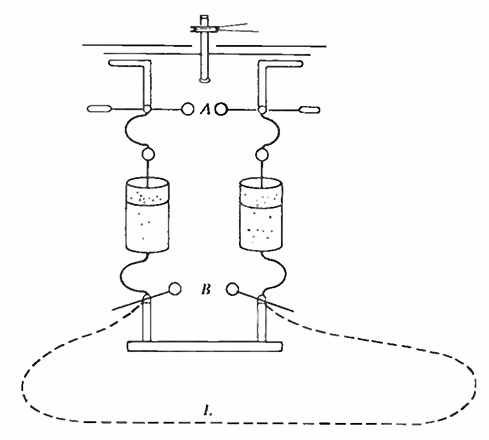
వేరే మార్గం (The Alternate Path)
“A” తో గుర్తించబడిన గుబ్బలను (Knobs) ఒకవైపు ఘర్షణ ద్వారా విద్యుత్తును ఉత్పత్తి చేసే పరికరానికి (Voss machine), మరోవైపు లేడెన్ జాడీల లోపలి ఉపరితలానికి కలిపి, ఆ జాడీల వెలుపలి ఉపరితలాలను సర్దుబాటు చేయడానికి వీలున్న స్పార్క్ గ్యాప్ “B” కి కలిపాడు. ఈ స్పార్క్ గ్యాప్ (B) యొక్క రెండు చివరలను అతి తక్కువ నిరోధకత కలిగిన ఒక పొడవైన లోహపు తీగెతో (L) కలిపాడు.
లేడెన్ జాడీలలో (కెపాసిటర్ల) నిల్వ చేసిన విద్యుత్తు ప్రవహించడానికి అతడు రెండు మార్గాలను ఏర్పాటు చేశాడు. అవి:
- మొదటి మార్గం: స్పార్క్ గ్యాప్ గుబ్బల మధ్య ఉన్న ఖాళీ ప్రదేశం. ఇక్కడ గాలి ఉండటం వల్ల నిరోధకత అనంతంగా ఉంటుంది.
- రెండో మార్గం: తీగె ద్వారా ప్రవహించడం. ఈ తీగెకు నిరోధకత చాలా తక్కువ.
సాధారణంగా విద్యుత్తు తక్కువ నిరోధకత ఉన్న మార్గంలో (తీగె ద్వారా) ప్రవహించాలి. కానీ, ప్రయోగంలో విద్యుత్తు తీగె ద్వారా వెళ్లకుండా, అనంతమైన నిరోధకత ఉన్న గాలిని చీల్చుకుంటూ స్పార్క్ గ్యాప్ వద్ద మెరుపులా దూకింది.

A ద్వారా విడుదలైన మెరుపు, తీగెకి (L) బదులు వేరే మార్గం (B) ఎంచుకోవడం
ఈ ప్రయోగంలో లాడ్జ్ ఒక ఆసక్తికరమైన విషయాన్ని గమనించాడు. విద్యుత్ మూలమైన లేడెన్ జార్ వద్ద (A) వచ్చే మెరుపుల కంటే, స్పార్క్ గ్యాప్ (B) వద్ద వచ్చే మెరుపులు గణనీయంగా బలంగా ఉన్నాయి. అది ఎలా సాధ్యం?
ఎదురు తన్ను (Recoil Kick)
లాడ్జ్ తన ప్రయోగాన్ని కేవలం ఒక చిన్న లూప్కే పరిమితం చేయకుండా, తన ప్రయోగశాల చుట్టూ వందల అడుగుల పొడవున్న సమాంతరమైన తీగెలను (Parallel wires) అమర్చాడు. ఈ తీగెల పొడవునా అక్కడక్కడ ‘స్పార్క్ గ్యాప్లను’ (మెరుపులు వచ్చే ఖాళీ ప్రదేశాలు) ఏర్పాటు చేశాడు.
పిల్లనగ్రోవిని ఊదినప్పుడు గాలి తరంగాలు ఒక చివర నుండి మరో చివరకు ప్రయాణించి, అక్కడ నుండి మళ్లీ వెనక్కి వస్తాయి. ఇలా వెనక్కి వచ్చిన తరంగాలు, ముందు నుండి వస్తున్న తరంగాలతో కలిసి నిలకడైన తరంగాలని (Standing Waves) సృష్టిస్తాయి. దీనివల్లనే శబ్దం వృద్ధి చెంది (Resonance) సంగీత స్వరాలు పుడతాయి.
లాడ్జ్ ప్రయోగంలో కూడా, లేడెన్ జాడీల నుండి వెలువడిన విద్యుత్ తరంగాలు తీగె చివరి వరకు వెళ్లి, అక్కడ సర్క్యూట్ ముగియడంతో (Open end) వెనక్కి తన్నుకువస్తాయి. ఈ వెనక్కి తన్నడాన్నే అతడు పిల్లన గ్రోవి లోని గాలి ప్రతిధ్వనితో పోల్చాడు. తీగె పొడవును బట్టి ఈ “నోట్స్” (ఫ్రీక్వెన్సీ) మారుతాయని అతడు నిరూపించాడు. అంటే, విద్యుత్ అనేది కేవలం ప్రవాహం మాత్రమే కాదు, అది తరంగాల రూపంలో ప్రయాణిస్తుందని అతడు స్పష్టం చేశాడు.

పలు స్పార్క్ గ్యాప్ ల (B1, B2, B3) అమరిక, పొడవైన తీగెలు (L, L’)
తీగెలపై తరంగాలు
హెవిసైడ్ తన టెలిగ్రాఫ్ సమీకరణాల ద్వారా గణితాత్మకంగా చెప్పినదానినే, లాడ్జ్ ఈ ‘రీకాయిల్ కిక్’ ప్రయోగం ద్వారా కళ్లముందు నిరూపించాడు. హెవిసైడ్ సిద్ధాంతం ప్రకారం—తీగెలు కేవలం విద్యుత్తును మోసుకెళ్లే వాహకాలు మాత్రమే కాదు; అవి విద్యుదయస్కాంత తరంగాలను ఒక దిశలో నడిపించే ‘మార్గదర్శకాలు’ (Waveguides) అని నిరూపించడానికి ఈ ప్రయోగం ఒక తిరుగులేని సాక్ష్యంగా నిలిచింది.
హెవిసైడ్ పొర (The Heaviside Layer)
1901లో మార్కోని (Marconi) అట్లాంటిక్ మహాసముద్రం మీదుగా ఇంగ్లాండ్ నుండి అమెరికాకు రేడియో సంకేతాలను పంపినప్పుడు శాస్త్రవేత్తలందరూ ఆశ్చర్యపోయారు. ఎందుకంటే, కాంతి వలె రేడియో తరంగాలు కూడా నేరుగా (straight line) ప్రయాణిస్తాయని, కాబట్టి భూమి వంపు (curvature) కారణంగా అవి సముద్రం అవతలికి వెళ్లడం అసాధ్యమని అప్పట్లో భావించేవారు.
ఈ మిస్టరీని ఛేదించడానికి ఆలివర్ హెవిసైడ్ ఒక అద్భుతమైన కల్పన చేశాడు. భూమి ఉపరితలానికి ఎగువన, వాతావరణంలో విద్యుత్ ఆవేశం కలిగిన అణువులతో కూడిన ఒక “అదృశ్య పొర” (Conducting Layer) ఉందని ప్రతిపాదించాడు.
కింద నుండి పంపిన రేడియో తరంగాలు అంతరిక్షంలోకి వెళ్ళిపోకుండా, ఈ పొరను తాకి అద్దంపై పరావర్తనం చెందినట్లుగా తిరిగి భూమికి చేరుతాయని వివరించాడు.
దీనివల్లనే రేడియో తరంగాలు భూమి వంపును అనుసరిస్తూ వేల మైళ్ల దూరం ప్రయాణించగలుగుతున్నాయని నిరూపించాడు. అమెరికాకు చెందిన ఆర్థర్ కెన్నెల్లీ కూడా ఇదే సమయంలో ఇటువంటి ప్రతిపాదన చేయడంతో, దీనిని “కెన్నెల్లీ-హెవిసైడ్ లేయర్” (Kennely-Heaviside layer) అని కూడా పిలుస్తారు.
హెవిసైడ్ ఈ ప్రతిపాదన చేసినప్పుడు ఆయన దగ్గర ఎటువంటి ప్రయోగపూర్వక ఆధారాలు లేవు, కేవలం తన గణిత విశ్లేషణపై నమ్మకంతోనే దీనిని చెప్పాడు. సుమారు 20 ఏళ్ల తర్వాత, 1924లో ఎడ్వర్డ్ యాపిల్టన్ (Edward Appleton) ప్రయోగపూర్వకంగా అయానోస్పియర్ లోని ఈ పొర ఉనికిని నిరూపించి 1947లో భౌతికశాస్త్రంలో నోబెల్ బహుమతిని పొందాడు.
టి.ఎస్. ఎలియట్ (T.S. Eliot 188 – 1965) రచనల ఆధారంగా రూపొందించిన ప్రఖ్యాత ‘Cats‘ మ్యూజికల్లో, పిల్లులు పునర్జన్మ కోసం “Up, up, up past the Jellicle Moon, / Up, up, up, up to the Heaviside Layer” అంటూ పయనిస్తాయి.
హెవిసైడ్ అగచాట్లు – అంతిమ యాత్ర
జీవిత చరమాంకంలో హెవిసైడ్ ఎన్నో అగచాట్ల పాలయ్యాడు. తల్లిదండ్రులు చనిపోయిన తర్వాత అన్నల సంరక్షణలో ఉన్నప్పటికీ, తన ఏకాంత స్వభావం వల్ల అతడు వారితోనూ సఖ్యంగా ఉండేవాడు కాడు.

కుటుంబంతో అందరికన్నా వెనక హెవిసైడ్
హెవిసైడ్ కనిపెట్టిన ‘లోడింగ్ కాయిల్స్’ (Loading coils) సిద్ధాంతం టెలిఫోన్ రంగంలో విప్లవం తెచ్చినప్పటికీ, దానిపై అతడికి ఒక్క పైసా కూడా దక్కలేదు. సెర్బియా నుండి అమెరికాకు వలస వచ్చిన మైఖేల్ ప్యూపిన్ (Michael Pupin) అదే సిద్ధాంతాన్ని కొంత మెరుగు పరచి తన పేరుతో పేటెంట్ సంపాదించి, AT&T సంస్థ నుండి లక్షలాది డాలర్ల భారీ మొత్తాన్ని సంపాదించాడు.ఆ సంస్థ కొంత డబ్బు ఇవ్వడానికి ఒప్పుకున్నా, తనకు దక్కాల్సిన పూర్తి గుర్తింపు ఇస్తే తప్ప, ఆ సొమ్ము ముట్టుకోనని హెవిసైడ్ మొండిగా భీష్మించుకున్నాడు. అలాగే, ఎవరైనా ఆర్థిక సాయం చేయబోతే దానిని ‘దానంగా’ భావించి తిరస్కరించాడు.
తన పరిశోధనలకు లభించిన అత్యున్నత శాస్త్రీయ గౌరవాలను మాత్రం హెవిసైడ్ కాదనలేదు. 1922లో బ్రిటన్కు చెందిన ‘ఇన్స్టిట్యూషన్ ఆఫ్ ఎలక్ట్రికల్ ఇంజనీర్స్’ (IEE) ప్రవేశపెట్టిన మొట్టమొదటి ‘ఫారడే మెడల్’ (Faraday Medal) గ్రహీత హెవిసైడ్. అలాగే, విద్యుత్ అయస్కాంత రంగంలో అతడు చేసిన కృషికి గుర్తింపుగా, జర్మనీలోని ప్రఖ్యాత గోటింగెన్ విశ్వవిద్యాలయం (University of Göttingen) 1905లో అతడికి గౌరవ డాక్టరేట్ను ప్రదానం చేసింది.

హెవిసైడ్ బహుముఖీన పరిశోధనా ఫలితాలు
కటిక పేదరికంలో, ఏకాకిగా జీవిస్తున్న సమయంలో హెవిసైడ్ స్పృహ కోల్పోయి పడిపోయాడు. చికిత్స కోసం అతడిని అంబులెన్స్లో ఆసుపత్రికి తరలించారు. తన జీవితాంతం ఆధునిక టెక్నాలజీ గురించి పరిశోధనలు చేసి సైకిల్ తప్ప వేరే వాహనం ఎరుగని హెవిసైడ్, మోటారు వాహనంలో ప్రయాణించడం అదే మొదటిసారి. ఆ ప్రయాణమే అతడికి చివరిదైంది. ఆసుపత్రిలో చికిత్స పొందుతూ, ఫిబ్రవరి 3, 1925న డెబ్భయి అయిదో ఏట చనిపోయాడు.
మాక్స్వెల్ గురించి ఒక సందర్భంలో హెవిసైడ్ రాసిన ఈ వ్యాఖ్య, ఆయనకు కూడా అంతే అన్వయిస్తుంది. ఇందులో హెవిసైడ్, “ఆత్మ అమరత్వం” (Immortality of the soul) అనే సిద్ధాంతం మతపరమైనది కాదు; ఆ దృక్పథం పూర్తిగా పొరపాటని ఆయన భావించాడు. ఆయన దృష్టిలో “మరింత ఉదాత్తమైన” అర్థం —ప్రతి వ్యక్తి ఈ ప్రపంచంపై చూపే శాశ్వత ప్రభావం, అది ఆ వ్యక్తి మరణానంతరం కూడా నిరంతరం కొనసాగుతూనే ఉంటుంది. ఈ కోణంలో చూస్తే, కొన్ని ఆత్మలు అత్యంత మహత్తరమైనవని అన్నాడు:
“మనలోని ఒక భాగం మన తర్వాత కూడా ఉంటుంది. అది మానవాళిలోనూ, ఈ ప్రకృతిలోనూ ఎంతోకొంత విస్తరించి ఉంటుంది. ఆత్మకు ఉండే అసలైన అమరత్వం ఇదే. ఆత్మలలో చిన్నవి ఉంటాయి, పెద్దవీ ఉంటాయి. షేక్స్పియర్, న్యూటన్ వంటి వారి ఆత్మలు అసాధారణమైనవి. అటువంటి మహాత్ములు మరణించిన తర్వాతే వారి జీవితంలోని అత్యున్నత భాగం నిజంగా మొదలవుతుంది. మాక్స్వెల్ కూడా ఆకోవకి చెందిన వాడే. వందల ఏళ్ల తర్వాత కూడా, గత కాలపు ప్రకాశవంతమైన నక్షత్రాలలో ఒకటిగా ఆయన వెలుగుతూనే ఉంటాడు.”
చేజారిన అవకాశం
ఆలివర్ లాడ్జ్ తన ‘ఎదురు తన్ను’ (Recoil Kick) ప్రయోగాల ద్వారా విద్యుదయస్కాంత తరంగాల ఉనికిని దాదాపుగా నిరూపించాడు. ఆ విజయ ఉత్సాహంతో, 1888 జూన్ నాటికే తన పరిశోధనా పత్రాన్ని సిద్ధం చేసుకున్నాడు. సెప్టెంబరులో జరగబోయే శాస్త్రీయ సదస్సులో తన ఆవిష్కరణ కలకలం సృష్టిస్తుందని సంబరపడ్డాడు. ఈలోగా వేసవి సెలవులు గడపడానికి ఆల్ప్స్ పర్వతాలకు బయలుదేరాడు.
లివర్పూల్ నుండి రైలులో వెళుతూ, తీరిగ్గా తన వెంట తెచ్చుకున్న సైంటిఫిక్ జర్నల్స్ లో ఒకదానిని, జులై సంచికని తెరిచాడు. దానిలో ఓ జర్మన్ శాస్త్రవేత్త రాసిన పరిశోధనా పత్రాన్ని చూసి దిగ్భ్రాంతికి లోనయ్యాడు. లాడ్జ్ కేవలం తీగెలపైనే పరిశోధన చేయగా, జర్మన్ శాస్త్రవేత్త ఆ తరంగాలను శూన్యంలో కూడా ప్రసరింపజేసి, పూర్తిస్థాయిలో విశదీకరించాడు. ఆ కథ వచ్చే వ్యాసంలో.
మూలాలు:
- Sir Edmund Whittaker. G. F. FitzGerald. Scientific American. November 1953.
- Paul J. Nahin. Oliver Heaviside. Scientific American. June 1990.
- Bruce J. Hunt. The Maxwellians. Cornell University Press. 1991.
- Hugh G.J. Aitken. Syntony and Spark: The Origins of Radio. Princeton University Press. 2014. లాడ్జ్ ప్రయోగాల బొమ్మలు దీని నుండి.
- Basil Mahon. The Forgotten Genius of Oliver Heaviside. Prometheus Books. 2017.







